中华人民共和国行业标准
城市地下道路工程设计规范
Code for design of urban underground road engineering
CJJ 221-2015
批准部门:中华人民共和国住房和城乡建设部
施行日期:2015年11月1日
中华人民共和国住房和城乡建设部公告
第768号
住房城乡建设部关于发布行业标准《城市地下道路工程设计规范》的公告
现批准《城市地下道路工程设计规范》为行业标准,编号为CJJ 221-2015,自2015年11月1日起实施。其中,第3.5.3、4.3.2、4.3.4、5.3.3条为强制性条文,必须严格执行。
本规范由我部标准定额研究所组织中国建筑工业出版社出版发行。
中华人民共和国住房和城乡建设部
2015年3月13日
前言
根据住房和城乡建设部《关于印发<2010年度工程建设标准规范制订、修订计划>的通知》(建标[2010]43号)的要求,编制组在广泛调查研究,认真总结实践经验,吸取科研成果,参考国外先进标准,并在广泛征求意见的基础上,编制本规范。
本规范主要技术内容是:1.总则;2.术语和符号;3.基本规定;4.横断面;5.平面及纵断面;6.出入口;7.交通设施;8.安全与运营管理设施。
本规范中以黑体字标示的条文为强制性条文,必须严格执行。
本规范由住房和城乡建设部负责管理和对强制性条文的解释,由上海市政工程设计研究总院(集团)有限公司负责具体技术内容的解释。执行过程中如有意见和建议,请寄送上海市政工程设计研究总院(集团)有限公司(地址:上海市中山北二路901号,邮政编码:200092)。
本规范主编单位:上海市政工程设计研究总院(集团)有限公司
本规范参编单位:同济大学
招商局重庆交通科研设计院有限公司
上海市城市规划设计研究院
北京城建设计研究总院有限责任公司
本规范主要起草人员:俞明健 刘艺 游克思 王曦 方守恩 张琦 王俊骅 郎益顺 侯静岩 张毅 罗建晖 易伟忠 倪丹 王少飞 范益群 刘向荣 赵丽 曾蕴蕾 张兰芳
本规范主要审查人员:崔健球 和坤玲 乔宗昭 王华牢 黎军 杨斌 徐一峰 叶青 严宝杰 程建川 吕锦刚
1 总 则
1.0.1 为规范城市地下道路工程设计,统一城市地下道路工程设计标准,提高工程设计质量,保障城市地下道路运营安全,制定本规范。
1.0.2 本规范适用于新建的城市地下道路工程设计。不适用于人行及非机动车的专用地下道路。
1.0.3 城市地下道路工程设计除应符合本规范外,尚应符合国家现行有关标准的规定。
2 术语和符号
2.1 术 语
2.1.1 城市地下道路 urban underground road
地表以下供机动车或兼有非机动车、行人通行的城市道路。
2.1.2 地下车库联络道 underground parking link
用于连接各地块地下车库并直接与城市道路相衔接的地下车行道路。
2.1.3 出入口 entrance and exit
在地下道路主线上设置的供车辆驶出或驶入地下道路主线的单向交通路口,一般通过匝道与衔接道路连接。
2.1.4 多点进出 multi-entrances and exits
城市地下道路除在两端与地面道路连接外,还在地下道路内通过匝道与其他道路相连接,形成多个出入口。
2.1.5 洞口 portal
地下道路洞身暗埋段的端部。
2.1.6 地下通道 underpass
穿越道路或铁路线的构筑物。
2 术语和符号
2.1 术 语
2.1.1 城市地下道路 urban underground road
地表以下供机动车或兼有非机动车、行人通行的城市道路。
2.1.2 地下车库联络道 underground parking link
用于连接各地块地下车库并直接与城市道路相衔接的地下车行道路。
2.1.3 出入口 entrance and exit
在地下道路主线上设置的供车辆驶出或驶入地下道路主线的单向交通路口,一般通过匝道与衔接道路连接。
2.1.4 多点进出 multi-entrances and exits
城市地下道路除在两端与地面道路连接外,还在地下道路内通过匝道与其他道路相连接,形成多个出入口。
2.1.5 洞口 portal
地下道路洞身暗埋段的端部。
2.1.6 地下通道 underpass
穿越道路或铁路线的构筑物。
2.2 符 号
E——建筑限界顶角宽度;
h——缘石外露高度;
hb——防撞设施高度;
H——建筑限界顶角高度;
Hc——机动车车行道最小净高;
Hp——检修道或人行道最小净高;
Wc——机动车道的车行道宽度;
Wj——检修道宽度;
Wl——侧向净宽;
Wmc——路缘带宽度;
Wp——人行道宽度;
Wpb——非机动车道的路面宽度;
Wpc——机动车道路面宽度;
WSC——安全带宽度。
3 基本规定
3.1 城市地下道路分类
3.1.1 城市地下道路根据服务对象可分为机动车专用地下道路和机动车与行人非机动车共用地下道路。
3.1.2 城市地下道路根据服务车型可分为混行车地下道路和小客车专用地下道路。
3.1.3 城市地下道路可按主线封闭段长度分为4类,并应符合表3.1.3的规定。
表3.1.3 城市地下道路长度分类
分类 | 特长距离地下道路 | 长距离地下道路 | 中等距离地下道路 | 短距离地下道路 |
长度L(m) | L>3000 | 3000≥L>1000 | 1000≥L>500 | L≤500 |
注:L为主线封闭段的长度。
3.1.4 城市地下道路可根据主线封闭段长度及交通情况,按防火设计要求分为4类,并应符合表3.1.4的规定。
表3.1.4 城市地下道路防火设计分类
用途 | 一类 | 二类 | 三类 | 四类 |
可通行危险化学品等机动车 | L>1500 | 500<L≤1500 | L≤500 | — |
仅限通行非危险化学品等机动车 | L>3000 | 1500<L≤3000 | 500<L≤1500 | L≤500 |
注:L为主线封闭段的长度(m)。
3 基本规定
3.1 城市地下道路分类
3.1.1 城市地下道路根据服务对象可分为机动车专用地下道路和机动车与行人非机动车共用地下道路。
3.1.2 城市地下道路根据服务车型可分为混行车地下道路和小客车专用地下道路。
3.1.3 城市地下道路可按主线封闭段长度分为4类,并应符合表3.1.3的规定。
表3.1.3 城市地下道路长度分类
分类 | 特长距离地下道路 | 长距离地下道路 | 中等距离地下道路 | 短距离地下道路 |
长度L(m) | L>3000 | 3000≥L>1000 | 1000≥L>500 | L≤500 |
注:L为主线封闭段的长度。
3.1.4 城市地下道路可根据主线封闭段长度及交通情况,按防火设计要求分为4类,并应符合表3.1.4的规定。
表3.1.4 城市地下道路防火设计分类
用途 | 一类 | 二类 | 三类 | 四类 |
可通行危险化学品等机动车 | L>1500 | 500<L≤1500 | L≤500 | — |
仅限通行非危险化学品等机动车 | L>3000 | 1500<L≤3000 | 500<L≤1500 | L≤500 |
注:L为主线封闭段的长度(m)。
3.2 设计原则
3.2.1 城市地下道路设计应符合现行行业标准《城市道路工程设计规范》CJJ 37的规定,并应符合下列规定:
1 加强对基础资料调研;
2 与城市路网合理衔接,与区域路网规划、区域地下空间规划相结合;
3 符合城市地下空间规划确定的深度分层、限界;
4 处理好与地面交通、城市历史风貌、城市空间环境的关系;
5 处理好与市政管线、轨道交通设施、综合管廊及地下文物等其他地下基础设施关系,合理安排集约化利用地下空间。
3.2.2 城市地下道路线形设计中的平面、纵断面和横断面应进行综合设计,保证视距安全,确保行车安全与舒适。
3.2.3 地下道路应做好出入口位置、间距和形式的综合设计及出入口交通组织,协调与地面交通的衔接,保证地下道路主线通畅,进出交通有序,与周边路网衔接顺畅。
3.2.4 城市地下道路交通设施设计应加强安全行车引导,交通设施应简洁、可视性好、易识别。
3.2.5 城市地下道路路面结构应满足耐久性和稳定性的要求,采用沥青混凝土路面应具有阻燃性好、噪声低的性能。
3.2.6 城市地下道路设计应根据结构与通风、供电、照明、监控、防灾等设施之间的协调进行综合设计。
3.2.7 城市地下道路排水应与地面排水系统综合设计。
3.2.8 城市地下道路设计应符合国家环保政策、法规,注重环境保护和资源节约,应在满足安全、经济、可靠的原则下,体现节能环保,宜选用高效、低能耗的设备系统,对通风、照明等能耗较大的设备应采取全面的节能设计。
3.2.9 城市地下道路设计应开展景观设计,洞口、洞内装饰以及风亭等美化设计应与周围城市环境相协调。
3.2.10 城市地下道路设计应根据工程地质与周边环境,从技术、经济、工期、环境影响等方面综合比较,选择合理的结构形式和施工方法。
3.2.11 城市地下道路结构应分别对施工阶段和使用阶段按承载能力极限状态及正常使用极限状态进行设计。
3.2.12 城市地下道路设计应根据规划预留必要的实施条件。
3.3 设计速度
3.3.1 城市地下道路设计速度取值宜与两端衔接的地面道路采用相同的设计速度,条件困难时,可降低一个等级,并应符合表3.3.1的规定。
表3.3.1 各级城市地下道路的设计速度
道路等级 | 快速路 | 主干路 | 次干路 | 支路 | ||||||||
设计速度(km/h) | 100 | 80 | 60 | 60 | 50 | 40 | 50 | 40 | 30 | 40 | 30 | 20 |
注:除短距离地下道路外,设计速度不应大于80km/h。
3.3.2 地下车库联络道的设计速度应为20km/h。
3.3.3 城市地下道路匝道的设计速度宜为主线的0.4倍~0.7倍。
3.3.4 城市地下道路的线形标准应根据实际运行速度的要求,与相邻路段运行速度协调。
3.4 设计年限
3.4.1 城市地下道路的沥青路面结构设计使用年限不应小于15年,水泥混凝土路面结构设计使用年限不应小于30年。
3.4.2 城市地下道路主体结构设计使用年限应为100年。
3.5 建筑限界
3.5.1 城市地下道路建筑限界应为道路净高线和两侧侧向净宽边线组成的空间界线(图3.5.1)。建筑限界顶角宽度(E)不应大于机动车道或非机动车道的侧向净宽度。建筑限界组成最小值应符合表3.5.1的规定。
图3.5.1 城市地下道路建筑限界(一)
图3.5.1 城市地下道路建筑限界(二)
表3.5.1 建筑限界组成最小值
注:1 当两侧设置人行道或检修道时,可不设安全带宽度。
2 非机动车道路面宽度(Wpb)或人行道宽度(Wp)应符合现行行业标准《城市道路工程设计规范》CJJ 37的规定。
3.5.2 城市地下道路最小净高应符合表3.5.2的规定。小客车专用道最小净高应采用一般值;条件受限时可采用最小值。
表3.5.2 城市地下道路最小净高
道路种类 | 行驶交通类型 | 净高(m) | |
机动车道 | 小客车 | 一般值 | 3.5 |
最小值 | 3.2 | ||
各种机动车 | 4.5 | ||
非机动车道 | 非机动车 | 2.5 | |
人行或检修道 | 人 | 2.5 |
3.5.3 城市地下道路建筑限界内不得有任何物体侵入。
3.5.4 不同净高的地下道路之间衔接应做好过渡,同时应设置必要的指示、引导标志及防撞设施等。
4 横 断 面
4.1 一般规定
4.1.1 城市地下道路横断面设计在满足建筑限界条件下,应为通风、给排水、消防、供电照明、监控、内饰装修等配套附属设施和安全疏散设施提供安装空间,通过合理布置充分利用空间,同时应预留结构变形、施工误差、路面调坡等余量。设备空间设计应满足下列原则:
1 满足各自设备工艺要求;
2 设备布置不得侵入建筑限界;
3 应方便设备的安装和维护保养;
4 设备管线宜集中布置,可设置专用管廊。
4.1.2 城市地下道路横断面宜与相连地面道路一致,当条件受限,经技术经济论证后可压缩断面,并应符合下列规定:
1 应设置宽度渐变段,渐变段长度应符合现行国家标准《道路交通标志和标线》GB 5768的规定;
2 洞口外的3s行程内断面与地下道路内的断面应保持一致;
3 当主线交通采用小客车专用道部分下穿时,两侧地面道路或周边路网应保证其他车辆分流要求,并应做好相应的交通引导和管理。
4 横 断 面
4.1 一般规定
4.1.1 城市地下道路横断面设计在满足建筑限界条件下,应为通风、给排水、消防、供电照明、监控、内饰装修等配套附属设施和安全疏散设施提供安装空间,通过合理布置充分利用空间,同时应预留结构变形、施工误差、路面调坡等余量。设备空间设计应满足下列原则:
1 满足各自设备工艺要求;
2 设备布置不得侵入建筑限界;
3 应方便设备的安装和维护保养;
4 设备管线宜集中布置,可设置专用管廊。
4.1.2 城市地下道路横断面宜与相连地面道路一致,当条件受限,经技术经济论证后可压缩断面,并应符合下列规定:
1 应设置宽度渐变段,渐变段长度应符合现行国家标准《道路交通标志和标线》GB 5768的规定;
2 洞口外的3s行程内断面与地下道路内的断面应保持一致;
3 当主线交通采用小客车专用道部分下穿时,两侧地面道路或周边路网应保证其他车辆分流要求,并应做好相应的交通引导和管理。
4.2 横断面布置
4.2.1 城市地下道路的典型横断面宜由机动车道、路缘带等组成,根据需要可设置人行道及非机动车道,特殊断面还应包括紧急停车带以及检修道等。
4.2.2 城市地下道路按道路用地和交通运行特征可选用单层式横断面或双层式横断面。
4.2.3 城市地下道路不宜采用在同一通行孔布置双向交通。当断面布置困难时,对设计速度大于或等于50km/h的短距离城市地下道路,可在同一通行孔布置双向交通,但必须采用中央防撞设施进行隔离;对设计速度小于50km/h的城市地下道路,当在同一通行孔布置双向交通时,应采用中央安全隔离措施;同时,应满足运营管理安全可靠的要求。
4.3 横断面组成及宽度
4.3.1 城市地下道路机动车道的宽度应符合现行行业标准《城市道路工程设计规范》CJJ 37的规定。当采用小客车专用道时,车行道宽度可适当压缩,应符合表4.3.1规定,一般情况下应采用一般值,条件受限时可采用最小值。
表4.3.1 小客车专用地下道路的一条机动车道宽度
设计速度(km/h) | >60 | ≤60 | |
车道宽度(m) | 一般值 | 3.50 | 3.25 |
最小值 | 3.25 | 3.00 |
4.3.2 城市地下快速路严禁在同孔内设置非机动车道或人行道。
4.3.3 城市地下道路除快速路外,当同孔内设置非机动车或人行道时,应符合下列规定:
1 非机动车道与人行道宜采取隔离措施;
2 地下道路长度不宜超过500m,且不得大于1000m;
3 地下道路内部空气环境应满足行人安全的要求,符合现行国家相关标准的规定。
4.3.4 当城市地下主干路、次干路和支路同孔内需设置非机动车道或人行道时,必须在机动车道外侧设置隔离护栏。
4.3.5 当城市地下道路检修道兼作人行道或非机动车道时,其宽度应符合现行行业标准《城市道路工程设计规范》CJJ 37对人行道或非机动车道的规定。
4.3.6 当城市地下道路内部不设检修道时,侧墙下部必须设置防撞设施,防撞设施的设置应符合现行国家标准《城市道路交通设施设计规范》GB 50688的规定。
4.3.7 城市地下道路的连续式紧急停车带宽度应根据设计速度、设计车型、使用功能、经济成本以及工程可实施性等方面综合论证确定。
4.3.8 长或特长单向2车道城市地下道路宜在行车方向的右侧设置连续式紧急停车带,单向2车道的城市地下快速路应在行车方向的右侧设置连续式紧急停车带,连续式紧急停车带的最小宽度宜符合表4.3.8的规定。
表4.3.8 连续式紧急停车带最小宽度
车型及车道类型 | 一般值(m) | 最小值(m) |
大型车或混行车道 | 3.0 | 2.0 |
小客车专用车道 | 2.5 | 1.5 |
4.3.9 当设置连续式紧急停车带困难时,宜设置应急停车港湾(图4.3.9),并应符合下列规定:
图4.3.9 应急停车港湾
1 位置不宜设置在曲线内侧等行车视距受影响路段;
2 间距宜为500m;
3 有效宽度不应小于3.0m;
4 有效长度不应小于30m,过渡段长度不应小于5m。
4.3.10 单向单车道的城市地下道路主线或匝道应设置连续式紧急停车带,宽度不应小于本规范表4.3.8规定的一般值。
5 平面及纵断面
5.1 一般规定
5.1.1 城市地下道路平面线形布置应符合城市总体规划及路网规划要求,综合地面道路、地形地物、地质条件、地下设施、障碍物及施工方法等确定。
5.1.2 城市地下道路纵断面线形布置应根据路网规划控制高程、道路净高、地质条件、地下管网等设施布置、道路排水、覆土厚度等要求,综合交通安全、施工工艺、建设期间工程费用与运营期间的经济效益、节能环保等因素合理确定。
5.1.3 城市地下道路平纵横线形组合设计应满足行车视距的要求,并保持视线的连续性。
5 平面及纵断面
5.1 一般规定
5.1.1 城市地下道路平面线形布置应符合城市总体规划及路网规划要求,综合地面道路、地形地物、地质条件、地下设施、障碍物及施工方法等确定。
5.1.2 城市地下道路纵断面线形布置应根据路网规划控制高程、道路净高、地质条件、地下管网等设施布置、道路排水、覆土厚度等要求,综合交通安全、施工工艺、建设期间工程费用与运营期间的经济效益、节能环保等因素合理确定。
5.1.3 城市地下道路平纵横线形组合设计应满足行车视距的要求,并保持视线的连续性。
5.2 平面及纵断面设计
5.2.1 城市地下道路的直线、平曲线、缓和曲线、超高、加宽等平面设计应符合现行行业标准《城市道路路线设计规范》CJJ 193的规定。
5.2.2 城市地下道路纵坡宜平缓,机动车道最大纵坡度应符合表5.2.2的规定,并应符合下列规定:
表5.2.2 地下道路机动车道最大纵坡
设计速度(km/h) | 80 | 60 | 50 | 40 | 30 | 20 |
一般值(%) | 3 | 4 | 4.5 | 5 | 7 | 8 |
最大值(%) | 5 | 6 | 8 |
注:除快速路等级外,受地形条件或其他特殊情况限制,经技术经济论证后,最大纵坡最大值可增加1%。
1 积雪和冰冻地区承担快速路功能的城市地下道路洞口敞开段最大纵坡不应大于3.5%,其他等级道路最大纵坡不应大于6%,否则应在洞口敞开段采取相应措施确保路面不积雪结冰;
2 城市地下道路最小纵坡不宜小于0.3%;当条件受限纵坡小于0.3%时,应采取排水措施;
3 对长度小于100m的城市地下道路纵坡可与地面道路相同;
4 设置非机动车道的城市地下道路纵坡应符合现行行业标准《城市道路路线设计规范》CJJ 193中非机动车道要求。
5.2.3 城市地下道路匝道最大纵坡应符合现行行业标准《城市道路交叉口设计规程》CJJ 152的规定。
5.2.4 城市地下道路坡长设置应符合现行行业标准《城市道路路线设计规范》CJJ 193的规定。
5.2.5 城市地下道路洞口应在接地口处宜设置反坡形成排水驼峰,排水驼峰高度应根据排水重现期、地形、道路功能等级等综合确定。
5.2.6 城市地下道路洞口内外各3s设计速度行程长度范围内的平纵线形应一致。当条件困难时,应采取安全措施。
5.3 停车视距
5.3.1 城市地下道路停车视距应符合现行行业标准《城市道路路线设计规范》CJJ 193的规定。
5.3.2 进出城市地下道路洞口处的停车视距宜采用主线路段的1.5倍。当条件受限时,应对洞口光过渡段进行处理。
5.3.3 城市地下道路设置平曲线及凹型竖曲线路段,必须进行停车视距验算。
6 出 入 口
6.1 一般规定
6.1.1 城市地下道路的出入口位置、间距及形式,应满足主线车流稳定、分合流处行车安全的要求,还应根据围岩等级及稳定性、地质条件等综合确定。
6.1.2 城市地下道路的出入口应设置在主线车行道右侧,当条件受限时,入口可设置在主线左侧,并应设置辅助车道。
6 出 入 口
6.1 一般规定
6.1.1 城市地下道路的出入口位置、间距及形式,应满足主线车流稳定、分合流处行车安全的要求,还应根据围岩等级及稳定性、地质条件等综合确定。
6.1.2 城市地下道路的出入口应设置在主线车行道右侧,当条件受限时,入口可设置在主线左侧,并应设置辅助车道。
6.2 出入口间距
6.2.1 城市地下道路的出入口间距应能保证主路交通不受分合流交通的干扰,并应为分合流交通加减速及转换车道提供安全可靠条件。
6.2.2 城市地下道路路段上相邻两出入口端部之间的最小间距应符合表6.2.2规定。
表6.2.2 城市地下道路出入口最小间距(m)
设计速度(km/h) | 出-出 | 出-入 | 入-入 | 入-出 |
80 | 610 | 210 | 610 | 1020 |
60 | 460 | 160 | 460 | 760 |
50 | 390 | 130 | 390 | 640 |
40 | 310 | 110 | 310 | 510 |
6.2.3 地下道路入口匝道与出口匝道之间路段宜设置辅助车道,当出入口端部间距不符合本规范表6.2.2要求时,应设置辅助车道,并应保证辅助车道长度满足交织要求。
6.2.4 地下车库联络道应在有地块接入侧设置辅助车道,地块车库联系的出入口在接入侧布有辅助车道后,接入间距不应小于30m(图6.2.4)。
图6.2.4 地下车库联络道出入口接入间距
6.2.5 地下车库联络道与地块车库联系的出入口不应设置在进出地下车库联络道的匝道上,与匝道坡道起止线距离不宜小于50m。
6.3 分合流端
6.3.1 城市地下道路出入口的分合流端宜设置在平缓路段,不应设置在平纵组合不良路段,分合流端附近主线的平曲线、竖曲线应采用较大半径。
6.3.2 城市地下道路主线分流鼻前的识别视距不宜小于2倍的主线停车视距,条件受限时不应小于1.5倍的主线停车视距。
6.3.3 城市地下道路主线汇流鼻前的识别视距不应小于1.5倍的主线停车视距。
6.3.4 匝道接入主线入口处从汇流鼻端开始应设置与主线直行车道的隔离段,隔离段长度不应小于主线的停车视距值,隔离设施不应遮挡视线(图6.3.4)。
图6.3.4 车道隔离段长度
6.3.5 城市地下道路设计不应在驾驶人进入地下道路后的视觉变化适应范围内设置合流点,合流段的汇流鼻端与洞口的距离不应小于表6.3.5的规定(图6.3.5)。
图6.3.5 地下道路洞口与汇流鼻端距离
表6.3.5 城市地下道路洞口与汇流鼻端最小距离
设计速度(km/h) | 最小间距(m) |
80 | 165 |
60 | 85 |
50 | 60 |
≤40 | 35 |
6.4 变速车道
6.4.1 城市地下道路单车道加减速车道长度不应小于表6.4.1的规定。
表6.4.1 城市地下道路单车道的加减速车道长度
主线设计速度(km/h) | 80 | 60 | 50 | 40 |
减速车道长度(m) | 80 | 70 | 50 | 30 |
加速车道长度(m) | 220 | 140 | 100 | 70 |
6.4.2 双车道的变速车道长度宜为单车道变速车道规定长度的1.2倍~1.5倍。
6.4.3 下坡路段减速车道和上坡路段加速车道的长度应按现行行业标准《城市道路交叉口设计规程》CJJ 152规定的修正系数进行修正。
6.4.4 平行式变速车道渐变段的长度应符合现行行业标准《城市道路交叉口设计规程》CJJ 152的规定。
6.5 地下道路与地面道路衔接
6.5.1 城市地下道路出口接地点处与下游地面道路平面交叉口距离应符合下列规定:
1 与无信号控制平面交叉口的停车线距离不宜小于2倍停车视距。当视线条件好、具有明显标志时,不应小于1.5倍停车视距;
2 与信号控制交叉口的停车线距离不宜小于1.5倍停车视距,条件受限时不得小于1倍停车距离。
6.5.2 城市地下道路出洞口与邻接地面道路出口匝道减速车道渐变段起点的距离应满足设置出口预告标志的需要。当条件受限时,不应小于1.5倍主线停车视距,并应在地下道路内提前设置预告标志(图6.5.2)。
图6.5.2 地下道路出口与地面道路匝道距离
6.5.3 当城市地下道路接地后与平面交叉口衔接时,出入口与接地点的布置应符合下列要求:
1 出入口引道布置可根据条件集中布置在地面道路的中央或两侧,离路口展宽段距离较近应按转向拓宽分车道渠化;
2 接地点至地面交叉口停车线距离除应满足视距要求外,应根据红灯期间车辆排队长度以及匝道与地面道路转换车道所需的交织段长度综合确定。
7 交通设施
7.1 一般规定
7.1.1 城市地下道路交通设施设计应符合现行国家标准《城市道路交通设施设计规范》GB 50688相关规定。
7.1.2 当城市地下道路交通标志设置在小半径平曲线或竖曲线等路段时,应满足标志的识别要求,不得被侧墙、顶板、附属设施等遮挡。
7.1.3 城市地下道路的交通标志宜采用主动发光或照明式标志。标志宜体薄量轻、便于悬挂,亮度应衰减慢、便于长期工作;标志可采用单面发光或双面发光、主动发光和被动反光相结合方式。
7.1.4 当城市地下道路内部空间受限时,交通标志尺寸和位置可根据地下道路内空间状况适当缩减和调整,但应符合国家现行标准的要求,并不得侵入道路建筑限界。
7.1.5 城市地下道路应设置反光交通标线,交通标线表面抗滑性能不应低于所在路段路面。
7 交通设施
7.1 一般规定
7.1.1 城市地下道路交通设施设计应符合现行国家标准《城市道路交通设施设计规范》GB 50688相关规定。
7.1.2 当城市地下道路交通标志设置在小半径平曲线或竖曲线等路段时,应满足标志的识别要求,不得被侧墙、顶板、附属设施等遮挡。
7.1.3 城市地下道路的交通标志宜采用主动发光或照明式标志。标志宜体薄量轻、便于悬挂,亮度应衰减慢、便于长期工作;标志可采用单面发光或双面发光、主动发光和被动反光相结合方式。
7.1.4 当城市地下道路内部空间受限时,交通标志尺寸和位置可根据地下道路内空间状况适当缩减和调整,但应符合国家现行标准的要求,并不得侵入道路建筑限界。
7.1.5 城市地下道路应设置反光交通标线,交通标线表面抗滑性能不应低于所在路段路面。
7.2 交通标志
7.2.1 城市地下道路应根据道路功能、等级设置入口引导标志,并应符合下列规定:
1 对于地下快速路和主干道,除下穿路口的地下通道外,应在入口周边2km范围内设置入口引导标志,其余还应符合现行国家相关标准的规定;
2 对于地下车库联络道应在入口周边1km范围内设置入口引导标志;
3 入口引导标志应设置在与地下道路连接的道路,以及周边的主干路、次干路的各主要交叉口,且不少于2个主要交叉口;
4 入口引导标志宜单独设置,除快速路以外的其他类型地下道路,也可结合指路标志以及可变信息标志综合设置。
7.2.2 城市地下道路入口前应设置交通标志,并应符合下列规定:
1 在地下道路入口前至少50m处,宜设置地下道路指示标志;
2 宜设置开车灯行驶标志,可与地下道路指示标志合并设置;
3 根据交通管理需求,在入口处前应设置限速、限重、限高、限制车型、禁止停车等禁令标志;
4 针对限高有特殊要求的城市地下道路,入口前应连续设置3次限高警告,条件受限时,不应小于2次。各次警告之间应保持一段距离,并应能保证超高车辆及时分流,最后一次应为硬杆型的防撞门架,门架前应设置分流超高车辆的容错车道。
7.2.3 城市地下道路在下列位置应设置主动发光或照明式指示标志:
1 设置应急停车港湾时,应在应急停车港湾前5m设置应急停车港湾指示标志,宜采用双面显示;
2 消火栓上方应设置消防设备指示标志;
3 紧急电话上方应设置紧急电话指示标志。
7.2.4 地下车库联络道内应设置停车库指路标志及停车库入口标志,宜设置停车库空车位数预告标志。
7.2.5 当城市地下道路出口与地面道路交叉口间的距离较短或地下道路为多点进出时,应在地下道路内设置指路标志。
7.2.6 多点进出的城市地下道路出口指路标志应分级指引,应对前方出口名称、方向、距离进行预告,并应符合下列规定:
1 设计车速大于等于60km/h的城市地下道路出口预告设置应符合国家现行相关标准要求;
2 设计车速小于60km/h的地下道路,除地下车库联络道外,应分别在减速车道的渐变段起点前1km、500m、250m和起点处设置1km、500m、250m出口预告标志和出口预告(行动点)标志。当间距小于1km时,可取消1km处出口预告标志;
3 地下车库联络道应对前方出口地面道路名称、地块停车库名称、方向、距离进行预告,出口预告标志不宜小于2级,并应在出口分流端设置出口确认标志。
7.2.7 多点进出的城市地下道路出口分流端应设置当前出口标志和下一出口预告标志。
7.2.8 城市地下道路主线合流点前应设置注意合流标志,并宜设置振荡标线配合标志使用。
7.2.9 城市地下道路主线、匝道线形变化较大路段处,应设置引导行驶方向的线形诱导标志,每处设置数量不应小于3块,诱导标志宜采用主动发光式标志。
7.3 交通标线
7.3.1 城市地下道路出入口的洞口内及洞外50m~100m范围内宜设置实线车道分界线。
7.3.2 城市地下道路连续弯道、视距不良等危险路段宜设置实线车道分界线。
7.3.3 城市地下道路主线以及地下匝道等车行道两侧应连续设置轮廓标,轮廓标设置应符合现行国家标准《城市道路交通设施设计规范》GB 50688的规定。
7.3.4 城市地下道路洞门、洞内紧应急停车港湾的迎车面端部宜设置立面标记。
7.3.5 小半径、急弯、陡坡、长大下坡、合流段等地下道路事故易发路段前,应设置减速振荡标线等相应减速措施以及危险警告标志。
7.3.6 当设置限制车行道的行驶速度、控制车行道行驶车辆的类型或指定车行道前进方向、提示出口信息时,可设置相应的路面文字标记。
7.3.7 标线涂料宜采用热熔型反光涂料。
7.4 交通防护设施
7.4.1 城市地下道路防护设施的设计应符合现行国家标准《城市道路交通设施设计规范》GB 50688的规定。
7.4.2 城市地下道路的主线分流端部应设置防撞设施。
7.4.3 城市地下道路出入口敞开段的护栏端部应采取安全性处理措施。
7.5 交通控制及诱导设施
7.5.1 交通信号控制及诱导设施主要包括车辆检测器、交通信号灯、车道指示器、可变信息标志、可变限速标志以及交通区域控制单元等外场设备。
7.5.2 交通信号灯的设置以及技术要求应符合下列规定:
1 在城市地下道路入口处应设置红、黄、绿组成的交通信号灯,可结合城市地下道路入口前的防撞门架设置;
2 交通信号灯应显示清晰,尺寸、光学性能等应符合现行国家标准《道路交通信号灯》GB 14887的规定。
7.5.3 车道指示器的设置应符合下列规定:
1 应设置在城市地下道路各车道中心线上方,不得侵入道路建筑限界内;
2 在城市地下道路内车行横洞处应设一组车道指示器;
3 当设置在直线路段时,间距宜为500m,曲线路段间距宜适当减少;
4 车道指示器宜由红色叉形灯及绿色箭头灯组成;
5 车道指示器尺寸、光学性能等应符合现行国家标准《道路交通信号灯》GB 14887的规定,安装位置应位于车道正上方,安装高度应满足地下道路净高要求;
6 双面显示车道指示器不得同时显示绿色箭头灯。
7.5.4 可变信息标志的设置应符合下列规定:
1 可变信息标志应主要显示地下道路交通状态等交通信息和管理信息;
2 可变信息标准宜设置在进入地下道路前或地下道路内分流匝道出口前;
3 可变信息标志显示内容应简洁,文字的字体、字高、间距等应保证视认性;
4 可变信息标志的颜色应符合现行国家标准《城市道路交通设施设计规范》GB 50688的规定。
8 安全与运营管理设施
8.1 一般规定
8.1.1 城市地下道路总体布置、附属用房、隧道安全运营管理设施等设置应满足地下道路正常运营、管理维护、防灾救援等综合需要。
8.1.2 城市地下道路设备系统设计应安全可靠、技术先进、经济合理、环保节能,并应满足防尘、防潮、防腐蚀、防雷等要求。
8.1.3 城市地下道路应根据需要,配置相应的通风、供电、照明、通信、给排水、监控、防灾与救援疏散等安全与运营管理设施。
8 安全与运营管理设施
8.1 一般规定
8.1.1 城市地下道路总体布置、附属用房、隧道安全运营管理设施等设置应满足地下道路正常运营、管理维护、防灾救援等综合需要。
8.1.2 城市地下道路设备系统设计应安全可靠、技术先进、经济合理、环保节能,并应满足防尘、防潮、防腐蚀、防雷等要求。
8.1.3 城市地下道路应根据需要,配置相应的通风、供电、照明、通信、给排水、监控、防灾与救援疏散等安全与运营管理设施。
8.2 机电及其他设施
8.2.1 城市地下道路的通风设计应综合下列因素,统一设计:
1 道路等级、工程规模、设计交通量、车种构成与有害气体排放量;
2 设计速度、道路平纵横线形、环保要求、火灾烟气控制和运营费用等;
3 特长地下道路的温升。
8.2.2 短距离城市地下道路宜采用自然通风方式。
8.2.3 城市地下道路内部通风标准应符合下列规定:
1 当采用纵向通风时,CO设计浓度应符合表8.2.3-1的规定;当采用全横向通风和半横向通风方式时,CO设计浓度可比表中规定值降低50ppm;
表8.2.3-1 CO设计浓度
交通状况 | 设计浓度(ppm) |
正常交通 | 150 |
阻滞交通 | 200 |
2 当采用钠灯光源时,烟雾设计浓度应符合表8.2.3-2的规定;当采用荧光灯光源时,烟雾设计浓度应提高一级;
表8.2.3-2 烟雾设计浓度(钠灯光源)
设计速度(km/h) | 80 | 60 | 40 |
烟雾设计浓度K(m-1) | 0.0070 | 0.0075 | 0.0090 |
3 城市地下道路空气中异味稀释应符合下列规定:
1)地下道路内空间不间断换气次数宜为3次/h~5次/h;
2)当采用纵向通风时,地下道路内换气风速不应低于2.5m/s。
8.2.4 城市地下道路给水系统的选择应符合下列规定:
1 给水水源应优先采用城市给水管网供水;
2 应采用生产、生活、消防分开的给水系统;
3 给水系统应满足地下道路各项用水对水量、水质、水压的要求;
4 寒冷地区的给水、消防管道应有防冻措施。
8.2.5 城市地下道路排水系统的选择应符合下列规定:
1 排水应采取分类集中,采用高水高排、低水低排互不连通的系统就近排放;
2 排水系统的选择应根据污水、废水的性质,并结合室外排水体制确定;
3 冲洗废水、结构渗入水和消防废水应集中合并排放,雨水与污水应分类排放;
4 排水系统宜采用强排措施,并宜在管道出口采取防倒灌措施;
5 城市地下道路敞开段的暴雨重现期不应小于20年,集流时间宜为5min~10min。
8.2.6 城市地下道路的供配电设计应符合国家节能和环保要求及现行的有关标准规定。供配电设施的构成应简单明确,电能损 失小,便于管理和维护,并根据负荷容量和分布,合理选择供电方案,配变电室及变压器宜靠近用电负荷中心。
8.2.7 城市地下道路的电力负荷应分级,根据设施重要程度分为下列三级:
1 应急照明、道路基本照明、主动发光或照明式标志、交通监控设施、环境检测及设备监控设施、通信设施、有线广播设施、视频监控设施、火灾自动报警及消防联动设施、中央控制设施、消防水泵、排烟风机、雨(废)水泵、变电所自用电设施应为一级负荷,其中应急照明、主动发光或照明式标志、交通监控设施、环境检测及设备监控设施、通信设施、有线广播设施、视频监控设施、火灾自动报警及消防联动设施、中央控制设施应为特别重要负荷;
2 设备机房及管理用房内的照明、通风风机、电梯等负荷应为二级负荷;
3 停电后不影响地下道路正常运行的负荷,包括空调设备、检修电源等应为三级负荷。
8.2.8 城市地下道路照明设计应根据设计速度、设计交通量、交汇流、洞外亮度、工程环境及气候条件等因素选择照明设计参数,并应满足地下道路不同运营工况的照明要求。
8.2.9 城市地下道路照明应由入口段照明、过渡段照明、中间段照明、出口段照明、洞外引道段照明、洞口接近段减光设施以及应急照明组成。对双向交通可不设出口段照明。
8.2.10 城市地下道路分合流端照明的平均亮度应比主线基本路段高50%~100%。
8.2.11 城市地下道路照明应选择高效、节能型的光源及灯具,照明功率密度值的确定应符合国家现行标准《建筑照明设计标准》GB 50034和《城市道路照明设计标准》CJJ 45的有关规定。
8.2.12 城市地下道路弱电设计应根据工程环境条件、工程设计、交通状况、设备系统运行方式、运营管理、应急救援等因素确定,并应满足地下道路安全运营的要求。
8.2.13 城市地下道路弱电系统的设计应由交通监控、环境检测及设备监控、火灾自动报警及消防联动、视频监控、通信、有线广播系统、中央控制管理等子系统设计组成。各弱电系统的设计应符合国家现行有关标准规定,并应满足地下道路的监控、防灾和管理要求。
8.2.14 城市地下道路应设置无线通信系统。
8.2.15 城市地下道路的供配电系统和弱电系统的接地和防雷技术设计应符合现行国家标准《建筑物防雷设计规范》GB 50057和《建筑物电子信息系统防雷技术规范》GB 50343的规定。
8.2.16 长及特长距离城市地下道路宜设置运营管理中心,中等及短距离城市地下道路可按需要设置监控、应急事件处理管理所。
8.2.17 运营管理中心应设置在城市地下道路引道出入口附近,并应符合日常维护管理及应急处置要求。
8.2.18 运营管理中心应符合交通管理、电力供给、防灾报警、设备监控,以及应急处理和全线信息的集散与交换等的要求。
8.2.19 位置较近的不同城市地下道路宜集中布置运营管理中心,并应符合下列规定:
1 监控系统设备应同时满足多条城市地下道路的总体监控功能、运营管理需求以及可靠性要求;
2 救援线路长度和救援时间应控制在合理范围内,并应满足应急救援要求。
8.2.20 运营管理中心建筑应符合节约用地、布局实用、功能明确、规模合理、与周围环境相协调、独立进出的要求。
8.3 防灾设计
8.3.1 城市地下道路应设置预防火灾、交通事故、水淹、地震、台风等灾害事故的设施。
8.3.2 城市地下道路防灾设计应针对灾害类型,结合地下道路功能、环境条件等因素制定设防标准。防灾系统设计应进行行车安全、灾害报警、交通控制、防灾通风与排烟、安全疏散与救援、防灾供电、应急照明、消防给水与灭火、防淹排水、防灾通信与监控、灾害时的结构保护等措施设计。
8.3.3 城市地下道路防火灾设计,应符合下列规定:
1 同一条城市地下道路内宜按同一时间发生一次火灾考虑。
2 应根据交通功能、预测交通流量、交通组成状况,确定最大火灾热释放功率,并应据此进行火灾通风排烟设计,最大火灾热释放功率可按表8.3.3的规定取值。
表8.3.3 最大火灾热释放功率
车辆类型 | 小轿车 | 货车 | 集装箱车、长途汽车、公共汽车 | 重型车 |
火灾热释放功率(MW) | 3~5 | 10~15 | 20~30 | 30~100 |
3 城市地下道路、地下附属设备用房、地面风井、出入口的耐火等级应为一级。地面重要设备用房、运营管理中心耐火等级不应低于二级。其他地面附属设备用房的耐火等级应为二级。
4 地下道路内附属设备用房、管廊、专用疏散通道应与车道孔之间采取防火分隔。
5 城市地下道路承重结构的耐火极限应符合现行国家标准《建筑设计防火规范》GB 50016的规定。
6 城市地下道路内装修材料除嵌缝材料外,应采用不燃材料。
7 特长城市地下道路应作防灾专项设计。
8.3.4 城市地下道路救援疏散设施设计应根据环境、排烟方式、管养模式等因素,设置疏散救援设施及应急救援站。应急救援站可就近设置,对于长距离地下道路不宜少于一处。
8.3.5 城市地下道路人员安全疏散设计应符合下列规定:
1 一、二、三类通行机动车的双孔地下道路应设置人行横通道或人行疏散通道。人行横通道间距及地下道路通向人行疏散通道的入口间距,宜为250m~300m。疏散净宽不应小于2.0m,净高不应小于2.2m。
2 双层地下道路或人行疏散通道与车道孔不在同层的单层地下道路,宜设置封闭楼梯间,楼梯净宽度不应小于0.8m,坡度不应大于60°。当人行疏散通道仅用作安全疏散时,净宽度不应小于1.2m,净高度不应小于2.1m。
3 地下道路与人行横通道或人行疏散通道的连通处应采取防火分隔措施。当人行疏散通道兼做救援通道时,宜根据救援流线、救援车辆类型,确定空间尺寸。
4 下滑逃生口可作为辅助疏散设施,滑道净高不应小于1.5m。
8.3.6 一、二、三类通行机动车的城市地下道路,车辆安全疏散设计应符合下列规定:
1 非水底地下道路应设置车行横通道或车行疏散通道,车行横通道间隔及通向车行疏散通道的入口间距宜为200m~500m。
2 位于水底的地下道路宜设置车行横通道或车行疏散通道,车行横通道间隔及地下道路通向车行疏散通道的入口间距宜为500m~1500m。
3 当地下道路内设置横向或半横向排烟设施、自动灭火设施时,车辆疏散通道的间距可根据实际情况确定。
4 车行横通道和车行疏散通道的净宽不应小于4.0m,净高不应小于地下道路的建筑限界高度。
5 地下道路与车行横通道或车行疏散通道的连接处及地下道路与其他地下空间连接处,应采取防火分隔措施。
8.3.7 城市地下道路防灾通风设计应符合下列规定:
1 火灾排烟系统应能及时有效控制烟气流动、排除烟气、减少烟气的影响范围。当火灾通风系统与正常通风系统合用时,应具备在火灾工况下的快速转换功能;
2 应根据地下道路长度、服务车型、通行状况等条件选择排烟方式,并应符合下列规定:
1)长度小于500m且仅限通行非危险化学品等机动车的地下道路可采用自然排烟;
2)双向通行、人车混行或长距离且易发生交通阻塞的地下道路宜采用重点排烟;
3)单向通行且交通顺畅的地下道路可根据地下道路长度选择采用纵向通风控制烟气流动或重点排烟;
3 当采用纵向通风排烟时,纵向气流的速度应大于临界风速。
4 当采用重点排烟时,排烟量应根据火灾释热量计算确定,排烟口应设置在地下道路顶部。
8.3.8 城市地下道路的消防给水设计应符合下列规定:
1 消防给水系统应与生产生活给水系统分开设置;
2 消防灭火设施应根据地下道路的功能等级、服务车型、长度、交通量等设置;
3 同一城市地下道路的消防用水量应按同一时间内发生一次火灾考虑;
4 当城市供水管网的水量、水压不能满足消防用水量、水压要求时,应设置消防泵房。
8.3.9 城市地下道路防灾通信设计应符合下列规定:
1 运营管理中心、地下道路区域均应设置消防专用电话、手动报警按钮和对讲电话插孔;
2 地下道路内紧急电话设置间距宜为100m;
3 应设置引入公安、消防无线信号,应满足公安、消防统一调度要求,运营管理中心应设置防灾无线调度通信台。
8.3.10 城市地下道路火灾自动报警设计应符合下列规定:
1 地下道路应设置火灾自动及手动报警系统,报警系统应能实时探测并输出报警,实时联动相关消防设备消灾;
2 消防联动灭火系统应具备良好的灭火、控火功能;
3 在地下道路入口前100m~150m处,应设置发生火灾事故提示车辆禁止进入的报警信号装置。
8.3.11 城市地下道路应设置主动发光或照明式安全疏散指示标志,并应符合下列规定:
1 地下道路车道两侧侧墙上应每隔50m设置疏散指示标志,安装净空高度不应大于1.3m;
2 安全通道、楼梯转角处的墙、柱上应设置疏散指示灯,安装部位距地面高度不应大于1.0m,间距不应大于15m;
3 人员安全疏散出口应设置安全出口标志灯,其安装高度距地面不应低于2.0m;
4 人行横洞及车行横洞处应分别设置人行横洞指示标志及车行横洞指示标志,并应双面显示。
8.3.12 城市地下道路应设置应急照明,并应符合下列规定:
1 除中短距离地下道路,启用应急照明时,洞内亮度不应小于中间段正常亮度的10%和0.2cd/m2;
2 横向人行通道、楼梯间、地面最低平均照度不应小于5lx;
3 配电室、消防水泵房、防排烟机房以及在发生火灾时仍需工作的房间,其应急照明照度应与正常照明照度值一致。
8.3.13 应急照明及疏散指示标志的供电宜采用集中式供电方式。
8.3.14 应急照明系统应设置EPS,保证照明中断时间不超过0.3s。长及特长距离地下道路连续供电时间不宜少于3h;中等距离地下道路连续供电时间不应少于1.5h;短距离地下道路连续供电时间不应少于0.5h。
8.3.15 城市地下道路设置的疏散标志和消防应急照明灯具,除应符合本规范外,还应符合现行国家标准《消防安全标志》GB 13495和《消防应急照明和疏散指示系统》GB 17945的规定。
8.3.16 运营管理中心应设置防灾广播控制台。
本规范用词说明
1 为便于在执行本规范条文时区别对待,对要求严格程度不同的用词说明如下:
1)表示很严格,非这样做不可的:
正面词采用“必须”,反面词采用“严禁”;
2)表示严格,在正常情况下均应这样做的:
正面词采用“应”,反面词采用“不应”或“不得”;
3)表示允许稍有选择,在条件许可时首先应该这样做的:
正面词采用“宜”,反面词采用“不宜”;
4)表示有选择,在一定条件下可以这样做的用词,采用“可”。
2 条文中指明应按其他有关标准执行的写法为“应符合……的规定”或“应按……执行”。
引用标准名录
1 《建筑设计防火规范》GB 50016
2 《建筑照明设计标准》GB 50034
3 《建筑物防雷设计规范》GB 50057
4 《建筑物电子信息系统防雷技术规范》GB 50343
5 《城市道路交通设施设计规范》GB 50688
6 《道路交通标志和标线》GB 5768
7 《消防安全标志》GB 13495
8 《道路交通信号灯》GB 14887
9 《消防应急照明和疏散指示系统》GB 17945
10 《城市道路工程设计规范》CJJ 37
11 《城市道路照明设计标准》CJJ 45
12 《城市道路交叉口设计规程》CJJ 152
13 《城市道路路线设计规范》CJJ 193
中华人民共和国行业标准
城市地下道路工程设计规范
CJJ 221-2015
条文说明
制订说明
《城市地下道路工程设计规范》CJJ 221-2015经住房和城乡建设部2015年3月13日以第768号公告批准、发布。
本规范在编制过程中,编制组进行了广泛的调查研究,总结了实践经验,参考国外现行标准,吸取科研成果,对一些关键问题进行了专题研究。
为便于广大设计、施工、科研、学校等单位有关人员在使用本规范时能正确理解和执行条文规定,《城市地下道路工程设计规范》编制组按章、节、条顺序编制了本规范的条文说明,对条文规定的目的、依据以及执行中需注意的有关事项进行了说明,还着重对强制性条文的强制性理由作了解释。但是,本条文说明不具备与规范正文同等的法律效力,仅供使用者作为理解和把握规范规定的参考。
1 总 则
1.0.1 本条规定了规范制定目的。
1.0.2 本条规定了规范适用范围,适用于新建或改建的城市地下道路,主要针对机动车专用道路,也包含部分等级功能较低、长度较短的机动车道兼有非机动车道和人行道的城市地下道路。人行过街通道、地下交通枢纽以及大型地下商业街的公共人行步道等都不在本规范规定范围内。
1.0.3 本规范是用于指导城市地下道路工程设计,编制出发点是基于城市地下道路与地面道路差异,制定符合城市地下道路特点的技术标准,是《城市道路工程设计规范》CJJ 37在地下道路方面的重要补充,有助于完善我国工程建设技术标准体系中的城镇道桥技术标准体系。地下道路系统性强,还涉及通风、照明、监控、防灾等多方面,本规范在这些方面也进行了规定,考虑到地下道路发生灾害事故后果严重程度大,对安全性要求更高,因此,本规范对地下道路安全防灾设计提出了较为详细的框架及其相关技术指标。涉及与现行国家或行业标准相同条款时,本规范没有重复列出,可具体参照国家或行业现行的相关标准规范。
2 术语和符号
城市地面土地资源的紧缺促进了城市空间向地下发展,地下交通系统是城市地下空间利用的重要组成,随着城市地下道路的建设发展,出现许多《城市道路工程设计规范》CJJ 37和《道路工程术语标准》GBJ 124等现行规范中未能定义的术语。因此,在本节中,结合城市地下道路特征,选择相应的并未被定义的术语进行解释。
2.1.1 将位于地表以下、以机动车通行为主或兼顾行人或非机动车通行的城市道路定义为城市地下道路,而将人行、非机动车专用的地下通道,如过街通道等不作为城市地下道路范畴。概念中的“地表以下”具体指交通的通行限界全部位于地表以下的情况。
本规范采用“城市地下道路”,而不是“城市隧道”,是基于二者概念的定义角度及内涵差异。《道路工程术语标准》GBJ 124及相关文献中对“隧道”的定义都是从建筑物或构造物、结构角度来定义和解释,即为从地层内部或水底通过而修筑的建筑物,主要由洞身和洞门组成。在理解上,可类比于城市桥梁,表示一种建筑物。
当前城市地下道路类型越来越多:①如穿越一条道路或铁路的节点型地下道路,也称为地下通道或下立交等。②穿越江河、山岭等连接两端地面道路的连接型地下道路。③设置多对匝道与地面连接,采用多点进出的系统性的长距离城市地下道路,如上海规划建设的东西通道、北横通道等。④在核心区连接各地块地下车库的地下道路等,如北京金融街、武汉王家墩等。不同类型的地下道路在交通功能和形式上存在较大差异,尤其是后两者,作为新类型的城市地下道路,在功能定位、使用功能、通风、防灾救援设计等方面与以往单点进出的地下道路都存在显著差异。因此,考虑到地下道路品种、功能类型多样,本规范从交通功能及形式角度来定义一个新名词术语,涵盖上述各种类型,即“城市地下道路”(urban underground road),在概念内涵上比“隧道”更广,涵盖范围大。
2.1.2 地下车库联络道是一种新类型的城市地下道路,位于地下,用于联系各地块的地下车库。国内外联系地下车库的地下道路类型较多,本规范在编制时,充分考虑了这些差异,将那些与建筑物合建且出入口布置在道路红线之外的联系地下车库的地下连接道路作为交通建筑来处理,不将其纳入城市地下道路范畴。对于主线布置于市政道路下方、并布有独立出入口直接与城市道路相连接、联系各地块地下车库的地下公共通道,作为城市地下道路,定义为“地下车库联络道”(underground parking link)。一般以服务小型客车为主、设计车速低,可作为一个独立系统的公共交通设施。
在城市核心区内设置地下车库联络道联系各地块地下停车库,能够使得小客车由城市路网快速到达目的地,实现静态交通与动态交通的转换,提高停车效率,净化地面交通,减少地面交通拥堵,提高核心区域的环境品质。
2.1.3 与地面或高架快速路出入口功能定义相同,即供车辆驶出或进入主线,一般通过匝道连接,本规范在此重新定义是强调其位置位于地下。
2.1.4 针对当前地下道路的多种类型,本规范从城市地下道路的出入口形态布局角度提出了单点进出和多点进出两个概念,即根据出入口数目将地下道路分为多点进多点出型和单点进单点出型地下道路。
单点进出型地下道路通常是较为简易的下立交或为穿越江河、湖泊、山岭等隧道,交通功能较为单一。作为整条道路的一个节点(或一个组成部分),其主要目是以穿越障碍物(江河、湖泊、铁路等)或因风貌保护、立体交通等原因而修筑;其功能标准等受两端接线道路控制。
多点进出的地下道路交通功能较为完善,交通服务功能较强。近期越来越多的地下道路采用这种布置形式,例如上海规划建设的东西通道、外滩隧道等。从适应城市交通需求以及协调地面道路和地下道路通行能力的角度看,多点进出型地下道路将会得到更为广泛的应用。长大距离的多点进出地下道路以服务过境交通为主,并通过多个出入口兼顾服务沿线重点区域的到发交通。多点进出型地下道路还需充分考虑地下道路内部的分合流以及主线和匝道出入口与地面道路的衔接交通组织。
2.1.5 洞口是城市地下道路的特殊位置,尤其在线形等设计中有特殊之处,鉴于目前相关规范都没有专门定义,本规范提出了此条术语。
2.1.6 地下通道是城市地下道路的一种特殊形式,在设计中有特殊之处,本规范的部分条款中提及此概念。因此,本规范引用了行业标准《城市桥梁设计规范》CJJ 11的术语,在此将其再单独列出。
3 基本规定
3.1 城市地下道路分类
3.1.1 根据服务对象城市地下道路分为机动车专用和人、非及机动车共用类型,当人、非及机动车共用横断面形式时,具体的横断面布置形式多样,可根据实际情况确定。
3.1.2 城市地下道路根据服务车型可分为混行车地下道路和小客车专用地下道路,混行车是指大、小型车混合行驶,即对服务车辆通常不作限制,这与《城市道路工程设计规范》CJJ 37用词保持一致。由于城市道路交通以小型车为主,同时考虑到工程经济性、安全性以及实施条件制约等因素,越来越多的城市地下道路采用专项技术标准,以小客车为服务对象,形成小客车专用地下道路,将超高的车辆通过地面道路或者周边路网绕行分流。
3.1.3 国内外相关规范对地下道路按长度进行规模分类时,长度是指封闭段长度。多点进出的地下道路封闭段除主线外还包括地下匝道,本规范对多点进出的地下道路规模分类仍按主线的封闭段长度确定。对于长或特长地下道路,若在主线上设置一段敞口段,虽然对通风排烟有一定作用,但对于机电系统、安全疏散、防火分隔、结构保护,给排水消防等防灾系统的其他部分影响不大,所以从整个防灾系统来看,地下道路的长度规模还是应按主线两端洞口的距离确定,还属于长或特长地下道路。
3 基本规定
3.1 城市地下道路分类
3.1.1 根据服务对象城市地下道路分为机动车专用和人、非及机动车共用类型,当人、非及机动车共用横断面形式时,具体的横断面布置形式多样,可根据实际情况确定。
3.1.2 城市地下道路根据服务车型可分为混行车地下道路和小客车专用地下道路,混行车是指大、小型车混合行驶,即对服务车辆通常不作限制,这与《城市道路工程设计规范》CJJ 37用词保持一致。由于城市道路交通以小型车为主,同时考虑到工程经济性、安全性以及实施条件制约等因素,越来越多的城市地下道路采用专项技术标准,以小客车为服务对象,形成小客车专用地下道路,将超高的车辆通过地面道路或者周边路网绕行分流。
3.1.3 国内外相关规范对地下道路按长度进行规模分类时,长度是指封闭段长度。多点进出的地下道路封闭段除主线外还包括地下匝道,本规范对多点进出的地下道路规模分类仍按主线的封闭段长度确定。对于长或特长地下道路,若在主线上设置一段敞口段,虽然对通风排烟有一定作用,但对于机电系统、安全疏散、防火分隔、结构保护,给排水消防等防灾系统的其他部分影响不大,所以从整个防灾系统来看,地下道路的长度规模还是应按主线两端洞口的距离确定,还属于长或特长地下道路。
3.2 设计原则
3.2.1 城市地下空间在交通设施、市政设施、商业设施、文化娱乐设施、防灾设施、储存设施、生产设施、教育科研设施等方面均有广泛应用。城市地下空间资源宝贵、开发具有不可逆性,需要协调发展,统一规划。因此,在城市地下道路设计时,应重点处理好与其他地下设施关系,特别是有些省,地下文物非常丰富,文物层厚,应注意保护。同时,合理开发地下空间,做到资源节约化,在城市地下空间资源的综合开发利用中统一协调之间形态关系,使之处于平面上不同的位置和垂直层面上的不同层次,最终形成一个整体性强、与城市形态协调性好、综合性强、社会综合效益最佳的地下空间开发利用形态。
3.2.2 城市地下道路线形设计应对平面、纵断面和横断面进行综合设计,保证前后线形均衡协调。考虑到地下道路行车环境以及行车视距受两侧侧墙等因素影响,城市地下道路线形设计时更应注重对视距的检验,尤其是线形技术标准较低的平曲线和凹曲线路段以及交通状况复杂的路段,例如出入口分合路段端等,要保证足够的行车视距,提高行车安全。
3.2.3 本条强调了地下道路出入口的设置以及与地面道路衔接的交通组织的重要性。不合理的出入口设置和交通组织会使地下道路交通对周边地区路网产生冲击,导致交通瓶颈产生,影响地下道路与周边道路交通功能发挥。地下道路出入口的设置需综合考虑周边地面路网情况,做好出入口的交通组织,最大限度地保证出入口与周边路网的交通顺畅。地下道路出入口的交通组织一般原则有:①与地下道路衔接的外部地面道路,其等级宜与地下道路相同或相近,地下道路也可与等级相差比较大的低等级道路相接,但要采取设置过渡段等措施,保证低等级道路的疏散能力。②最大限度地保证地下道路的交通通畅,发挥地下道路应有的交通功能。③出入口交通组织设计应满足周边地区交通的需求,减少地下道路交通对周边地区的交通冲击,保证地区交通畅通。④出入口处的车道划分遵循车道平衡原则。⑤一对进出匝道,宜采取先出后进的布置方式,如因周边路网设置等条件的限制而采取先进后出的布置方式,则进出口之间的间距应满足最小距离要求,必要时还应设置辅助车道。
3.2.5 城市地下道路路面可采用沥青混凝土路面和水泥混凝土路面,应具有足够的结构强度、稳定性和耐久性,面层还应满足平整、抗滑要求。直接铺设在结构底板上方的沥青混凝土面层应具有与水泥混凝土面板粘结牢固,阻燃性能好、噪声低的性能,并应与水泥混凝土面板之间设置有效的粘结防水层。
此外,城市地下道路路面设计应做好与不同类型的路面衔接过渡。地下道路的路面施工宜采用温拌法,拌合温度界于热拌与冷拌之间,可节省燃油,减少温室气体及沥青烟尘等有害气体产生,应用越来越广泛。
3.2.6 与地面道路相比,地下道路由于空间封闭,易造成洞内空气污染、洞内外亮度差异悬殊、噪声高以及火灾难于控制等一系列严重影响运行安全的问题。完善的地下道路交通设施及附属设施的设计是确保道路正常、安全、有序运营的重要保证,具体包括交通标志标线、交通监控、通风、照明、安全防灾等。
3.2.8 与地面道路不同,城市地下道路通车运营后需要长期开启照明、通风、监控等大量附属设施设备来保障正常运营,因此,城市地下道路总体设计应重视对节能环保的考虑,优先选用高效、低能耗的设备系统,对通风、照明等能耗较大的设备应采取全面节能设计。照明控制宜采用可根据交通流量情况调整的节能控制方式。城市地下道路的给水设计应符合综合利用、节约用水要求。各类水泵宜具备智能控制功能,可根据条件变化自动启停水泵,降低能耗。城市地下道路在设计、施工过程中对废气、噪声、污水以及固体废弃物等应采取全面污染防治设计。废气、噪声、污水以及固体废弃物处置,应符合环境保护要求。
3.2.9 城市地下道路及其地面附属设施景观设计应与周边环境、景观相协调,穿越名胜古迹、风景区时,应保护原有自然状态和重要历史文化遗产。
洞内装饰设计应符合下列要求:特长地下道路洞内装饰设计,宜采取降低行车视觉疲劳的措施;内装饰材料与构造,应具有良好的防火、耐腐蚀、防潮、抗重复风压、耐久性等性能,便于清洗;在正常使用及高温下不得分解出有毒、有害气体。侧墙的装饰材料还应避免眩光。
3.3 设计速度
3.3.1 设计速度是指在气候条件良好,车辆行驶只受道路本身条件影响时,具有中等驾驶技术水平的人员能够安全、舒适驾驶车辆的速度。设计速度是决定道路几何线形的基本依据,如平曲线、竖曲线的半径、超高、视距、车道宽度等技术指标都直接或间接与设计速度相关。
设计速度、功能等级宜与两端接线的地面道路相同,具体设计速度的选择应根据交通功能、通行能力、工程造价、运营成本、施工风险、控制条件以及工程建设性质等因素综合论证确定。
短距离的城市地下道路应采用与两端接线地面道路一致的设计速度,否则需要车辆在短距离范围内改变运行速度,不利于行车安全。此外,距离较短给过渡段和交通标志的设置等也带来了困难。
除短距离的地下道路外,建设条件受限制时,考虑到工程经济性和行车安全,可以采用与两端接线道路不同的设计速度,可降低一个等级,但之间应设置足够长度的过渡段,速度差不宜大于20km/h。目前,国内外许多已运营的道路隧道,考虑到隧道内行车安全和后期运营成本等原因,设计速度都比衔接道路的设计速度降低一个等级。世界道路协会(PIARC)认为,绝大多数国家的隧道设计速度比所在路段低10km/h~20km/h,这有利于经济性和安全保障。
但考虑到城市地下交通长远发展需求、建设成本大、建成后再改造或改建难度较大以及使用年限长,同时,为充分发挥地下道路高容量、高速、安全和舒适的特点,需要地下道路必须具备良好的道路几何线形条件和行车条件,因此,地下道路不宜采用较低的设计速度,尤其对于两端接线道路设计速度较低的道路,在隧道路段不应再降低设计速度标准。
地下道路设计速度也不宜过高,过高的设计速度直接关系到地下道路的横断面大小、平纵线形标准、经济合理性以及施工风险和结构安全,将大大增加工程建设难度和造价,同时今后运营费用也将增大,如日本东京湾海底隧道曾做过详细比较,如其他参数相同,仅是车速由80km/h提高到100km/h,其结果照明设备费提高60%~61%,营运电耗提高63%~66%。从目前国内外已运营的城市地下道路设计速度来看,一般都不大于80km/h,见表1。采用80km/h的设计速度能够满足未来一定时间内的交通需求,保证一定的服务水平。
表1 部分国家城市地下道路设计速度
3.3.2 地下车库联络道具有实现车库资源共享,净化地面交通等功能。在连接地面道路和车库时,地面道路设计车速一般为30km/h~40km/h(次干路、支路设计车速标准),而地下车库内部限速一般为5km/h,因此,地下车库联络道的设计速度应介于上述两者之间。
由于地下车库联络道上接入车库的出入口较多,过高运行速度会带来较大的行车安全隐患。此外,在具体布置连接地下车库的车行通道时,通常需要在有限区域空间内将各地块车库串联起来,设计速度过大会造成道路线形展线困难,难以满足工程建设需求。综合考虑行车安全和工程建设可行性等多方面因素,本规范将地下车库联络道的设计速度规定为20km/h。我国北京金融街、无锡锡东新城高铁商务区以及武汉王家墩商务区等地下车库联络道设计速度都为20km/h。
当然如果条件允许,接入出入口较少时,经技术论证比较,可以适当提高设计速度,一般不超过30km/h。
3.3.3 与《城市道路工程设计规范》CJJ 37第3.2.3条规定保持一致。
3.3.4 设计速度对一特定路段而言是一固定值,这一值作为基础参数用于规定一个路段的最低设计标准,但在实际运行中,驾驶人很难自始至终地严格去恪守设计速度这一固定值,也不可能做到以恒定的设计速度行驶,实际车辆运行速度是驾驶人根据道路线形、车辆动力性能、路侧环境状况、交通管理控制以及驾驶人自身预期期望等条件综合确定,并随着这些条件的变化而改变,与道路设计速度没有直接联系。设计速度的选择要与车辆实际运行速度相适应,从而提高道路使用者的行车安全和舒适性。
通过对国内多条城市地下道路的运行速度调研,由于地下道路内横向干扰少,连续流交通,运行速度通常都很高。尤其对于低设计速度的地下道路,其运行速度远高于设计速度,如上海大连路隧道、复兴路隧道等设计速度为40km/h,但实测数据表明平均运行速度一般都在60km/h以上。
道路安全设计的相关理论研究表明当运行速度与设计速度相差较大时,容易造成安全隐患。国内外道路安全评价分析时,普遍采用运行速度协调性来检验道路几何线形设计一致性,通过评价速度的连续性来达到评价道路线形特征是否出现突变的目的。运行速度协调性表现在两个方面:一是运行速度与道路设计速度之间协调,即设计速度与运行速度差值进行评价,见表2;另一方面是相邻路段间的协调性,对路段进行划分,分别预测各路段运行速度值,计算相邻路段运行速度之差,将差值和预定阈值作比较,评价道路设计一致性水平。根据美国对运行速度与事故统计分析的研究表明,速度一致性评价指标是衡量道路安全性的重要指标,设计速度与运行速度相差大于20km/h时,线形协调性差,安全隐患大。
表2 速度协调性评价标准
设计一致性状态 | 好 | 一般 | 差 |
设计指标(km/h) | |v85—v设计|≤10 | 10≤|v85—v设计|≤20 | |v85—v设计|≥20 |
综上所述城市地下道路采用较低的设计速度容易造成设计速度与实际运行速度相差过大,增大了事故发生概率。建议宜通过调研本地区已运营的比较相似的地下道路的实际运行速度,以此作为确定设计指标取值重要依据。
为避免设计速度与预期运行速度相差较大,不协调,出现设计的线形指标与实际运行速度所需的线形标准相脱节,城市地下道路设计应注意道路实际运行速度,尽可能保证线形指标与实际运行速度相匹配,减少不同路段之间的运行速度相差,保证相邻路段之间的速度协调性。
鉴于当前还缺乏城市地下道路的运行速度预测模型,设计时无法开展城市地下道路运行速度检验。但城市地下道路设计可对道路线形进行“容错性检验”,即在设计速度基础上,分别提高不同速度等级,将其假设为道路实际运行速度,检验设计能否满足不同运行速度的要求。通过检验,对具有一定长度、能够满足较高运行速度的路段可以在未来适当提高运营速度,允许较高的运行速度运行,并将所采用的检验速度值作为运营速度管理依据。对于不同运行速度之间的路段,应设置足够长度过渡段,并通过严格交通工程措施做好提醒警告,保证运营安全,不同路段之间速度级差不超过20km/h。
3.4 设计年限
3.4.1 地下道路内受自然影响较小、地基强,路面使用寿命比地面道路可以适当延长,因此,城市地下道路的路面结构设计使用年限应至少与城市地面道路的路面结构设计使用年限相同。故比照地面道路路面结构的设计使用年限,本规范对城市地下道路的路面设计使用年限统一为:沥青混凝土路面不小于15年,水泥混凝土路面不小于30年。
3.5 建筑限界
3.5.1 本条规定了设置及不设置检修道或人行道时的城市地下道路建筑限界。给出了限界中路缘带宽度、安全带宽度、人行道或检修道宽度等最小值规定。
其中,对于小客车专用地下道路,在缘石外露高度选取时,还应考虑失控车辆与缘石碰撞造成的危害,高的路缘石会使高速行驶的汽车一旦驶入将产生飞跃、爆胎甚至翻车等副作用,因此其高度不宜过高,宜取范围的下限值。
3.5.2 城市地下道路建设条件复杂,工程经济成本高,若采用与地面道路相当的技术标准容易影响工程可实施性,地下道路设计应该在充分满足绝大部分车辆出行的需求和行车安全前提下,尽量降低设计净高。采用较低净空,还可以采用单孔双层布置断面,将双向交通布置于同一洞内,这将给工程建设带来很大便利。同时在市区通常限定了大型车的行驶范围,中小型车占绝大部分比例,低净空的地下道路能够满足绝大部分车辆的通行需求。
北京、上海等城市已出现了限高2.5m、3m、3.2m、3.5m等道路工程实例。在已运营的地下道路方面,很多也采用了较低设计净高,如上海外滩隧道设计净高为3.2m,限高为3.0m;上海复兴东路隧道上层净高仅为2.6m,限高为2.4m;北京市正在筹划的两条特长地下道路,其中东二环特长地下道路的设计净高进行了专门技术论证,拟采用3.2m最小净高,限高3.0m;法国A86城市地下道路设计净高为2.55m,限速为70km/h;马来西亚吉隆坡SMART地下道路,设计净高2.55m,在实际运营中,限速60km/h,限高2m。这些已运营的地下道路经验表明通过采取必要的交通工程和管理措施,限定净高,严格控制超限尺寸车辆驶入,可以保证低净空下运营安全。
国外相关技术标准方面,日本从1994年提出并开始研究小型车专用道路的课题,2002年提出了小型车专用道路技术标准,2003年修订了《道路构造令》,正式发布“小型汽车专用道路技术指标”,其建筑界限净高规定为3.0m。
本规范通过广泛调研各汽车厂商提供的车辆基本外廓尺寸,统计数据表明,除特殊改装类型的车辆外,小型车高度基本都在1.8m以下,部分SUV以及一些高级轿车类型高度在1.8m~2m,总体都在3m以下,不含云梯的消防车辆高度也基本在3m以下,救护车和警车高度最高也不超过3.0m。因此,综合考虑以3m作为车辆限高值。由于地下道路结构内部空间相对固定,不受雨雪等外部气候条件影响,在3.0m基础上主要考虑车辆竖向运动,增加0.2m,最终将小客车专用地下道路的设计净高最小值规定为3.2m,能够保证小客车和应急救援车辆的通行。
检修道可以用于保证地下道路管理人员、使用者等与正常车行交通互不干扰的情况下进行紧急事件的处理。检修道应设置一定的高度,可以阻止失控车辆爬上人行道,有利于提高人员步行安全,同时,也是保护地下道路设备的安全限界。但高度也不宜过高,过高则会影响车辆的行车视距,我国公路隧道中设置检修道或人行道时一般高出路面20cm~40cm。日本在隧道内设置人行道时,将人行道高出路面1m。本规范采用我国公路隧道的规定,为20cm~40cm。一般情况下,除其他因素,只考虑设计速度,设计速度越高时,检修道高度宜越高。不同设计速度对应的检修道高度范围可参考《公路隧道设计规范》JTG D70。检修道的设置还应综合考虑检修人员步行安全、满足其下布置管线空间尺寸的要求等多方面因素。
在同孔内布置非机动车和人行道时,建筑限界有两种情况,如本规范图3.5.1(c)和图3.5.1(d):图3.5.1(c)是指非机动车与行人布置在一起,图中与机动车建筑限界之间间隙表示设置的隔离设施,实际工程中有些采用护栏隔离,也有些采用柱子隔离,具体宽度应根据所采取的隔离设施确定。图3.5.1(d)是指非机动车与机机动车布置在一起,而行人单独设置。图中机动车、非机动车及行人的建筑限界之间的间隙,表示设置的隔离设施,同样其宽度也应根据所采取的隔离设施确定。
3.5.3 该条列为强制性条文是为了避免任何物体侵入建筑限界,确保道路使用者安全,车辆能够在道路上安全、畅通行驶;行人能够安全通行,不受干扰。同时也是为保证地下道路结构、附属设施设备及交通工程设施等安全。
3.5.4 不同净高衔接主要针对两种情况:一种是地下道路与地面道路的衔接采用不同的净空标准,这种情况比较常见;另外一种是地下道路与地下道路之间,如主线隧道采用高的净空,但直接通过匝道与低净空的地下车库联络道等衔接,这种情况也有出现,因此,对于不同净高之间的衔接应严格做好过渡措施,标志引导,充分提供超高车辆分流的条件。
4 横 断 面
4.1 一般规定
4.1.1 城市地下道路的横断面布置应综合考虑道路功能定位、设计速度、交通量、交通组成、交通设施、地形等因素。由于城市地下道路建设经济成本高、既有地下设施影响制约因素多、施工条件复杂,任何横断面要素的微小变化对工程的经济建设成本和可实施性都具有重要影响,因此,城市地下道路设计时应对横断面总体布置作充分研究,从经济、技术等方面对横断面布置方案进行综合比选,确定最优方案。
城市地下道路的横断面布置还应综合考虑通风、给排水、消防、监控通讯、安全疏散设施及其他附属设施的布置需要。在满足建筑限界情况下,合理利用地下道路空间布置运营设备和安全疏散设施,设施布置应充分利用空间,不得侵入建筑限界,同时还要便于运营维护。车行空间与设备空间之间应保留一定的额外距离,如英国隧道设计对车行空间与设备空间之间的距离控制规定:竖向距离A为0.25m,横向距离B为0.60m,见图1。
图1 英国隧道设计中车行空间与设备空间关系
4.1.2 本条规定了城市地下道路横断面与两端接线道路横断面的关系,从行车安全、交通流连续性等来看,两种断面形式宜保持一致性和连续性,但考虑到建设条件、工程造价、施工特点复杂等原因,地下道路内横断面形式在特殊情况下可以适当减低标准。从国内外实际工程经验以及相关规范、研究成果来看,一般建议城市地下道路内的横断面布置应因地制宜,如采用与两端接线道路不同标准,主要针对两种情况:
1)地下道路的横断面相关组成宽度取值适当降低,如路缘带、安全带宽度等。这种情况下应设置足够长度的过渡段,并通过设置预先警告标志等交通工程措施,让驾驶人有个逐渐适应过程。
在《欧洲道路网隧道安全统一规定》(On minimum safety requirements for tunnels in the Trans-European Road Network)中指出当隧道与接线道路两端采用不同的车道数时,车道数变化的起点至洞口距离至少应满足车辆10s运行速度的距离,当条件受限制时,采取其他措施保证行车安全。我国《公路隧道设计规范》JTG D70规定当隧道的建筑限界宽度小于两端接线道路宽度时,应设有4s设计速度行程的过渡段与隧道洞口衔接,以保持隧道洞口内外横断面顺适过渡。
2)在净高方面等也进行了适当降低,直接采用小客车专用标准,将大车从地面分流,如在日本,即使是下穿一条道路的短距离城市地下道路也允许采用局部下穿形成小客车专用通道,大车从地面或周边路网分流,这样可以有效节约了施工周期和成本,见图2。这种情况下首先应满足交通通行的需求,地面上应具有保证大车能够通行的条件;且在分流前直至通过路口后全过程应设置完善的标志引导系统等,及时指引大车分流,引导其从两侧地面道路或绕行道路通过。
图2 短距离的小客车专用城市地下道路(日本)
当设计中需要考虑压缩断面,进行经济技术论证时,首先应从经济上论证压缩断面的必要性以及经济节约效益,进行不同方案的工程造价比较。其次,在技术论证上,需要充分结合道路的功能等级、设计速度、服务对象,从行车安全、行车舒适性等方面综合分析,并还应考虑两端接线道路有否改、扩建提升道路等级的可能,压缩断面较大会造成地下道路成为交通拥堵的瓶颈路段。
4 横 断 面
4.1 一般规定
4.1.1 城市地下道路的横断面布置应综合考虑道路功能定位、设计速度、交通量、交通组成、交通设施、地形等因素。由于城市地下道路建设经济成本高、既有地下设施影响制约因素多、施工条件复杂,任何横断面要素的微小变化对工程的经济建设成本和可实施性都具有重要影响,因此,城市地下道路设计时应对横断面总体布置作充分研究,从经济、技术等方面对横断面布置方案进行综合比选,确定最优方案。
城市地下道路的横断面布置还应综合考虑通风、给排水、消防、监控通讯、安全疏散设施及其他附属设施的布置需要。在满足建筑限界情况下,合理利用地下道路空间布置运营设备和安全疏散设施,设施布置应充分利用空间,不得侵入建筑限界,同时还要便于运营维护。车行空间与设备空间之间应保留一定的额外距离,如英国隧道设计对车行空间与设备空间之间的距离控制规定:竖向距离A为0.25m,横向距离B为0.60m,见图1。
图1 英国隧道设计中车行空间与设备空间关系
4.1.2 本条规定了城市地下道路横断面与两端接线道路横断面的关系,从行车安全、交通流连续性等来看,两种断面形式宜保持一致性和连续性,但考虑到建设条件、工程造价、施工特点复杂等原因,地下道路内横断面形式在特殊情况下可以适当减低标准。从国内外实际工程经验以及相关规范、研究成果来看,一般建议城市地下道路内的横断面布置应因地制宜,如采用与两端接线道路不同标准,主要针对两种情况:
1)地下道路的横断面相关组成宽度取值适当降低,如路缘带、安全带宽度等。这种情况下应设置足够长度的过渡段,并通过设置预先警告标志等交通工程措施,让驾驶人有个逐渐适应过程。
在《欧洲道路网隧道安全统一规定》(On minimum safety requirements for tunnels in the Trans-European Road Network)中指出当隧道与接线道路两端采用不同的车道数时,车道数变化的起点至洞口距离至少应满足车辆10s运行速度的距离,当条件受限制时,采取其他措施保证行车安全。我国《公路隧道设计规范》JTG D70规定当隧道的建筑限界宽度小于两端接线道路宽度时,应设有4s设计速度行程的过渡段与隧道洞口衔接,以保持隧道洞口内外横断面顺适过渡。
2)在净高方面等也进行了适当降低,直接采用小客车专用标准,将大车从地面分流,如在日本,即使是下穿一条道路的短距离城市地下道路也允许采用局部下穿形成小客车专用通道,大车从地面或周边路网分流,这样可以有效节约了施工周期和成本,见图2。这种情况下首先应满足交通通行的需求,地面上应具有保证大车能够通行的条件;且在分流前直至通过路口后全过程应设置完善的标志引导系统等,及时指引大车分流,引导其从两侧地面道路或绕行道路通过。
图2 短距离的小客车专用城市地下道路(日本)
当设计中需要考虑压缩断面,进行经济技术论证时,首先应从经济上论证压缩断面的必要性以及经济节约效益,进行不同方案的工程造价比较。其次,在技术论证上,需要充分结合道路的功能等级、设计速度、服务对象,从行车安全、行车舒适性等方面综合分析,并还应考虑两端接线道路有否改、扩建提升道路等级的可能,压缩断面较大会造成地下道路成为交通拥堵的瓶颈路段。
4.2 横断面布置
4.2.2 根据不同的地形条件,城市地下道路横断面形式可因地制宜确定,同时,地下道路的横断面形式还受施工方法影响,如采用盾构开挖时,目前,现有的盾构机最大直径决定了采用盾构法施工的地下道路横断面的最大尺寸。根据国内外已建设的城市地下道路横断来看,总体分为单层式和双层式两种布置方式。
单层式地下道路是指在同层布置供车辆行驶,设置单层车道板,下部和上部的空间用于提供设备布线、通风孔道和疏散逃生设施的布置,内部空间利用率相对较低,通常采用双孔实现双向交通通行,对城市地下空间侵占较多。
双层式地下道路是指采用上下双层布置供车辆行驶,在同一断面上布置两层车道板,分别满足上下行方向交通通行,利用隧道内行车道的上下空间布置排风道,侧壁空间布设管线和逃生设施,空间利用紧凑,对城市地下空间资源侵占小。从空间利用角度来看,双层式优于单层式,尤其是对于城市地下空间极其有限情况,应紧凑布局,尽量减少占用地下资源。
上海延安东路隧道、大连路隧道、南京长江公路隧道、武汉长江隧道、钱塘江隧道等为单层形式,见图3;法国A86隧道、马来西亚SMART隧道、上海外滩隧道等采用双层形式,见图4和图5。上海复兴东路隧道为双孔双层隧道,双层布置同向交通,上层为两条小车专用道、下层为一条大车道和一条应急车道。
图3 上海长江隧道横断面布置(明挖段)
图4 上海外滩隧道横断面(明挖段)
图5 法国A86地下道路横断面
根据空间是否封闭,城市地下道路横断面可分为敞开式和封闭式两种形式。敞开式的地下道路是指交通通行限界全部位于地表以下,顶部打开的形式,其中顶部打开包含两种形式,一种是顶部全部敞开;另外一种是顶部局部敞开。对于单层式地下道路,敞开式和封闭式示意图分别见图6和图7。
图6 敞开式地下道路
图7 封闭式地下道路
敞开式和封闭式地下道路在通风、照明等方面设计存在较大差异。对于顶部局部打开的地下道路,可利用敞开口作为自然通风口,利用地下道路外风压、内外热压差、交通通风压力进行通风换气,火灾时结合机械系统排烟。合理设置开口的位置和面积,正常运营情况下能够满足污染物的稀释、分散排放的需要。
城市地下道路的横断面布置形式多样,在设计时可从是否要满足大车(如公交)通行、能否便于两端接线路网的交通疏解和地下道路内部空间利用等角度进行各种可能方案比选,合理确定地下道路横断面形式。
4.2.3 为保障地下道路的运营安全,不宜在地下道路同一孔内布置双向交通,地下道路双向交通应尽可能分孔隔离,采用分孔隔离也可节约地下道路的结构跨度,断面更为经济,通风排烟可利用活塞风,降低运营成本和风险。
当受道路红线或障碍物控制导致断面分孔隔离布置确实受限时,对于设计速度大于或等于50km/h的短距离地下道路,可在同一通行孔内布置双向交通,但必须采用中央防撞设施(如中央防撞墩等)进行安全隔离,对于中距离以上(含中距离)的地下道路考虑到运营安全和成本,仍应采用分孔隔离双向交通;对于设计速度小于50km/h的中低速地下道路,条件困难时可采用包括隔离反光柱、双黄线等中央安全隔离措施进行隔离。当在同一通行孔内布置双向交通时,必须充分考虑运营管理的安全可靠,以及通风、消防逃生等特殊要求。
4.3 横断面组成及宽度
4.3.1 城市地下道路建设经济成本高、受地形以及现有地下设施影响制约因素多、施工条件复杂,横断面对工程建设成本和可实施性具有重要影响。其中车道宽度是影响横断面大小的重要因素,本规范对城市地下道路的车道宽度开展了专题论证,提出了适合城市地下道路的车道宽度标准。
国内外已有较多采用较窄车道宽度的地面和地下道路在运营,如上海外滩隧道,设计速度40km/h,双层布置,车道宽度为3m;上海复兴路隧道设计车速40km/h,双层隧道,其中上层为小型车专用道路,车道宽度为3m。法国A86隧道,设计速度70km/h,车道宽度为3.0m,目前,这些道路运行状况良好,没有出现因车道宽度不足而引发的大量交通事故等问题。日本从1994年提出并开始研究小型车专用道路的有关课题;2002年提出了小型车专用道路的技术标准。2003年,修订了《道路构造令》,正式发布“小型汽车专用道路技术指标”。其中各等级公路单车道宽比标准汽车公路少0.25m~0.5m,见表3。小客车专用道路可以有效地减少工程成本,尤其对于在隧道和桥梁路段,同时由于分流了大客、货车,交通流组成单一,运行速度差异小,一定程度上也有利于道路安全。
表3 日本小型车专用道路车道宽度
由上海市政总院联合同济大学开展的《小客车专用城市地下道路横断面技术标准研究》分别采用理论计算结合实测试验对服务以小客车为服务对象的城市地下道路车道宽度进行了详细研究。在试验时,采用实测轨迹方法,对上海市人民路隧道、新建路隧道以及外滩隧道等多条城市地下道路的车辆运动轨迹进行了研究,通过车载信息采集设备获取地下道路上车辆的行驶速度、横向偏移等信息数据,分析速度与横向偏移之间的关系,得出了车辆在车道上的分布规律,从而得到不同速度条件下,横向安全距离的取值范围。以设计车身宽度与横向偏移值之和作为最小车道宽度的依据。车速小于等于60km/h车辆的横向偏移值及车道最小有效宽度取值,见表4,结果表明有效宽度值都小于3m,在此基础上考虑一定的安全余量、驾驶人行车舒适性等因素,因此,将服务中小型地下道路的设计速度小于等于60km/h的最小车道宽度取值为3m,这样可以有效地节省地下空间资源。同时,通过驾驶仿真模拟对设计速度80km/h小型车专用地下道路的车道宽度也进行了研究,表明在80km/h设计速度下的车道宽度也可适当降低至3.25m也是可行的。
表4 设计速度小于等于60km/h车道宽度
在建设条件允许下,车道宽度宜满足现行《城市道路工程设计规范》CJJ 37的规定;当在地形地质条件复杂、中心城地区地下障碍物制约因素多情况下,条件受限时,可适当降低车道宽度,但不应小于本规范规定值。
4.3.2 本条为强制性条文。城市地下快速路道路等级高、交通量大、车速高,这种情况下对于慢行交通通过时存在较大的安全隐患,一旦发生事故,因事故所造成的交通拥堵等其他损失对整个城市或区域路网都将产生重要影响。鉴于交通安全和事故影响严重程度两方面考虑,应禁止在地下快速路同孔内设置非机动车道或人行道。
4.3.4 本条为强制性条文。一些城市由于历史原因以及城市空间扩展,有铁路穿越城市内部或特有自然地形环境原因,市区被山体、河流隔开,分隔了两侧繁华街区。为沟通加强两侧联系,减少人行、非机动车及车辆绕行通常需要城市地下道路来穿越障碍物,此时城市地下道路横断面布置还须考虑人行和非机动车道出行需求。
鉴于在地下道路同一孔内采用人、车通行的交通组织时,具有一定安全隐患,因此,本条规定了该种情况应满足的技术指标要求。
同孔布置时必须严格设置安全隔离设施,实现机、非分离,将行人、非机动车与机动车安全分隔,非机动车道和人行道设置宜两侧设置,但考虑到工程经济成本,为节约断面布置,城市地下主干路、次干路和支路也可将非机动车道和人行道设置在机动车道一侧,当单独设置在地下道路一侧时,应在进入地下道路之前的地面道路做好行人和非机动车过街的交通组织,不应在地下道路内部或接近洞口区域附近设置行人或非机动车过街。
行人与非机动车之间也宜采取分隔措施,隔离措施可采用护栏,采用侧石或路缘石也是隔离措施。
城市地下主干路、次干路和支路设置人行和非机道时除考虑行人与非机动车安全外,另外一个重要因素是内部空气卫生环境。由于地下道路空间封闭,车辆尾气排放产生的CO和NO积聚,容易造成浓度过大,会对行人产生很大安全隐患。因此,对于布置人行及非机动车道的城市地下道路应采取严格的通风措施,确保尾气污染物浓度符合相关卫生标准要求。我国《公路隧道通风设计细则》JTG/T D70/2-02对人车混合通行隧道的相关尾气污染物浓度规定,CO设计浓度不应大于70cm3/m3。
挪威隧道设计对人、车通行隧道的相关尾气污染物浓度规定见表5。
表5 CO和NO设计浓度(挪威)
长度(m) | CO设计浓度(ppm) | NO设计浓度(ppm) |
0~1000 | 100 | 2 |
由于目前对人、车通行的城市地下道路CO和NO设计浓度标准还缺乏研究,考虑到城市道路与公路交通流的差异以及国内外的差异,不能直接借鉴公路和国外隧道的相关标准,本规范没有对人、车通行的城市地下道路CO和NO设计浓度标准给出具体规定,但设计时应充分考虑这一点,通过完善的通风系统或利用敞开式自然风通风,维持地下道路良好的空气环境。
4.3.5 城市地下道路是否设置检修道是应综合考虑隧道横断面形式、工程造价、运营管养模式以及施工工法等综合确定。一般情况下城市地下道路可不设置检修道,其原因有:城市地下道路以圆形或矩形断面形式为主,若设置检修道势必会增大横断面尺寸,从而对工程造价具有很大影响;另外与其管养模式也有关,城市地下道路由于交通量大、内部尾气等环境安全问题都不合适检修人员工作,所以一般通过夜间封闭交通进行集中养护检修,因此,无须设置检修道。但对于穿越山岭等矿山法的城市地下道路,与公路隧道类似,其横断面轮廓主要采用三心圆等形式,形成偏平圆状断面,这样两侧具有很大富余量,但这富余量又不能够为车行所用,为充分利用断面空间位置,所以可用于布置检修道。因此,是否设置检修道根据具体情况综合确定。
4.3.6 城市地下道路不设置检修道时应设置防撞设施,以避免失控车辆对结构以及侧墙内部布设的运营设备系统的破坏,防撞设施应保证一定的高度,其高度示意见图8,目前工程上设置的高度一般在0.5m~1m之间,不宜过低或过高。具体设置应满足现行国家标准《城市道路交通设施设计规范》GB 50688以及现行行业标准《城市桥梁设计规范》CJJ 11等规定。
图8 防撞设施及其高度示意图(上海东西通道)
4.3.7、4.3.8 目前国内外对设置连续式紧急停车带的规定如下:
1)《城市道路工程设计规范》CJJ 37规定
对单向小于3车道的长和特长隧道,应设置应急车道,当施工方法受到限制的条件下,可采取其他措施。
2)《城市快速路设计规程》CJJ 129规定
在单向两车道的高架快速路上,应设2.5m宽连续或不连续停车带,不连续停车带应在500m左右设置一处。
3)《公路工程技术标准》JTG B01规定
特长和长隧道内右侧侧向宽度小于2.50m时,应设置应急车道,应急车道宽度应为3.50m,长度不应小于30m,间距不宜大于750m。
4)《公路隧道设计规范》JTG D70规定
特长和长隧道应在车行方向的右侧设置应急车道,紧急停车道间距不宜大于750m,停车带宽度包含右侧宽度取3.5m,长度取40m,其中有效长度不得小于30m。
5)美国AASHTO(2004)道路几何线形设计规定
隧道理想状况是采用与两端接线道路相同的横断面形式,即采用相同路肩宽度(这里路肩可以对应为应急车道),但考虑到隧道的工程造价、施工复杂等原因,建议可适当缩减路肩宽度,其宽度范围在0m~3.0m之间,通过权衡工程造价与运营安全,综合确定,同时建议在长隧道内设置港湾式应急车道,见图9。
图9 美国AASHTO几何设计中的隧道横断面布置
6)世界其他国家相关规范对设置应急车道规定
根据是否设置连续式紧急停车带,分为两种宽度,具体设置见表6。
表6 世界部分国家对隧道内连续式紧急停车带规定
通过上述各国关于隧道内设置连续式紧急停车带的规定对比分析,得出结论如下:①考虑到工程建设成本等因素制约,世界各国普遍认为有条件下隧道横断面应采用与两端接线道路相同形式,但通常认为隧道内应适当缩减宽度,尤其是连续式紧急停车带的设置,需因地制宜、综合论证。②各国对应连续式紧急停车带规定值大多在2.0m~3.0m之间,部分国家还大于3m,如英国、荷兰等;当不设置连续式紧急停车带时,右侧路缘带宽度通常在0.25m~1.0m之间。
世界道路协会隧道技术委员会在1987年世界道路会议上提出:对于隧道设计,横断面尺寸上任何微小的增加都会引起巨额的工程造价,因此,设计时应重点考虑具有经济性的横断面布置形式,尤其是连续式紧急停车带的宽度设计需要重点详细研究。
总体来说,有条件时尽量设置连续式紧急停车带,但当采用较宽的连续式紧急停车带时具有一定不足:城市地下道路工程造价高,横断面尺寸微小的增加都会带来巨大的工程造价;城市地下道路在布线时受既有地下管线、建筑物桩基等制约因素影响大,同时,还要保证与现有地下设施的最小距离,在很多情况下如果采用较宽的连续式紧急停车带将增加横断面尺寸,影响工程的可实施性;城市地下道路可采用专用标准,大多以服务小型车为主,仍然采用较宽的连续式紧急停车带会造成地下空间资源的浪费。
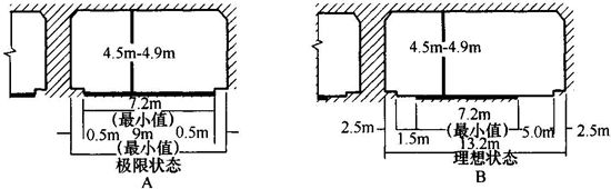
因此,综合考虑到工程造价、可实施性以及节约地下空间资源等多方面因素,借鉴国外对隧道内的连续式紧急停车带设置,本规范认为城市地下道路连续式紧急停车带的设置宽度和形式应根据设计速度、服务车型对象、设计的预期发挥功能、经济成本以及工程可实施性等方面综合论证确定。
连续式紧急停车带具有多种复合功能,其宽度设计应与其今后预期发挥的功能相关。当要求所设置功能越多时,则宽度设置应越大;如当设置具有安全的紧急停车功能的停车带时,即设计目标是保证车辆是安全停车,且对主线交通没有影响,则应保证足够宽度;如需进一步考虑作为今后应急救援或养护通道等用途,则还需在此基础上进一步考虑预留宽度空间。反之要求停车带的功能只是当事故发生后保证还有一定的空间供主线车辆通行,可适当降低设计标准,采用较窄的紧急停车带即可满足需求。
世界道路协会认为,当车辆紧急停车而不影响主线行车时,紧急停车带宽度确定方法如下:以中小型车为例,车辆设计宽度为1.75m,在此基础上,还需保证0.5m宽度供驾驶人正常开门下车等,因此,紧急停车带宽度为2.25m。根据此方法,我国标准车辆小客车宽度规定为1.8m,大型车宽度为2.5m,当车辆紧急停车而不影响主线行车时,小客车专用地下道路的紧急停车带宽度为2.3m,实际设计中可取2.5m,大型车或混合行驶的地下道路紧急停车带宽度为3.0m。因此,本规范将2.5m和3.0m作为连续式紧急停车带设置的一般值,在这种情况下发生事故车辆在停车带上紧急停车时不会对主线车辆产生较大影响。
另一方面本规范也给出了最小值的要求,该值确定依据是:当车辆发生故障或事故在停车带紧急停车时,即使占用主线一定的车道宽度,但剩余的路面宽度还能够保证其余车辆在降低速度的情况下能够安全通过,不至于堵塞。同时根据法国、丹麦、瑞典等国家联合开展的欧洲新建或改建道路安全设计标准研究,隧道的侧向宽度对驾驶人行为具有显著影响,当小于1.5m时会对主线正常通行能力和行车安全产生较大负面影响。因此,综合考虑,对于小客车专用道路时,连续式紧急停车带最小值为1.5m,当为混行车时,需适当加宽至2.0m。
综上所述,本规范将针对城市地下道路的紧急停车带宽度设置分为一般值和最小值,宽度取值范围根据服务车道类型有关,根据具体设计条件以及所设计的停车带预期发挥功能来选择一般值或最小值,条件允许下,宜尽量采用一般值,当条件受限,采用窄宽度的紧急停车带时,还可通过其他工程措施来弥补窄宽度的不足。
4.3.9 城市地下道路当设置连续式紧急停车带困难时,可设置应急停车港湾,故障供车辆等紧急停靠。
应急停车港湾由过渡段和有效长度段组成。过渡段的作用是便于车辆进入应急停车港湾,驶出时可避免直接进入主线,减小对主线的干扰,长度不应小于5m。有效宽度应能够保证车辆的停靠安全,不应小于3.0m。有效长度不应小于30m。
为保证车辆进出应急停车港湾的安全,保证与主线车辆之间具有良好的通视视距,应急停车港湾设置位置不宜设置在曲线内侧等行车视距受影响路段。
在应急停车港湾设置间距上,挪威根据隧道的安全等级,设置不同间距。鉴于目前我国对应急停车港湾的设置缺乏研究以及我国交通状况与国外差异,不能直接参照国外规范标准,建议对应急停车港湾的间距设置仍采用与现有城市道路规范的规定一致,间距为500m。
但国外的设计理念值得借鉴,应急停车港湾的设置应因地制宜,可根据地下道路功能等级、交通流组成特征,综合考虑通风以及工程造价,确定具体设计参数。其中,间距可不是一个固定值,应综合考虑工程的可实施性和建设条件,避免设置在地质条件差的位置。对于特长、交通量大的城市地下道路适当加密应急停车港湾的设置。多点进出的城市地下道路也可利用变速车道两端,合理布置应急停车港湾。应急停车港湾的设置还受施工工法影响,当施工方法受限时,可不设,但应采取其他措施。
应急停车港湾的利用率总体上利用率不高。我国对应急停车港湾的利用率效果缺乏系统调研,国外有相关研究,见表7,调研表明应急停车港湾的平均利用率一般在20%左右,挪威和西班牙的运营经验表明目前仅有40%故障车辆能够利用应急停车港湾,相对于投资成本来说,成本效益比并不高。此外,地下道路设置应急停车港湾对通风效果也有一定影响。
表7 国外应急停车港湾利用率统计
应急停车港湾利用率与其位置的设置以及预告、提醒标志设置的合理性有关。在设计时,应合理地确定位置,还应做好预告、提醒,让驾驶人有足够信息获知前方应急停车港湾的位置,增大利用率。
5 平面及纵断面
5.1 一般规定
5.1.1 城市地下道路的平面线形布置除了受城市道路网布局、地区控制性详细规划、道路规划红线宽度等影响外,还受既有地下管线设施、建筑物基础等影响,因此,在布置平面线形指标选取需综合考虑确定。
对于上下行交通分离的独立双洞,在平面线形布置时应保证两洞的最小净距,避免过近导致两洞结构彼此产生相互不利影响,或导致地面较大沉降和结构较大变形等。最小净距一定程度上影响道路平面线形的整体布置形式,最小净距应根据围岩地质条件、断面形状和尺寸、施工方法等因素综合确定。
5.1.2 城市地下道路的纵断面线形设计通常还应考虑结构顶部覆土厚度,它是控制纵断面线形布置的重要因素。影响结构顶部覆土厚度因素较多,应根据地下管网、地质条件、结构安全、施工工艺等综合确定,当作为人防工程时,还应考虑防空工程的最小覆土要求。
5.1.3 地下道路空间封闭,侧墙和顶部对驾驶人的行车视线影响较大,同时平纵组合效应对视线的影响比地上道路更强烈,因此,城市地下道路设计应注重平纵横组合效应对行车视线的影响。保证足够的行车视距,线形流畅,能够自然诱导驾驶人视线。
5 平面及纵断面
5.1 一般规定
5.1.1 城市地下道路的平面线形布置除了受城市道路网布局、地区控制性详细规划、道路规划红线宽度等影响外,还受既有地下管线设施、建筑物基础等影响,因此,在布置平面线形指标选取需综合考虑确定。
对于上下行交通分离的独立双洞,在平面线形布置时应保证两洞的最小净距,避免过近导致两洞结构彼此产生相互不利影响,或导致地面较大沉降和结构较大变形等。最小净距一定程度上影响道路平面线形的整体布置形式,最小净距应根据围岩地质条件、断面形状和尺寸、施工方法等因素综合确定。
5.1.2 城市地下道路的纵断面线形设计通常还应考虑结构顶部覆土厚度,它是控制纵断面线形布置的重要因素。影响结构顶部覆土厚度因素较多,应根据地下管网、地质条件、结构安全、施工工艺等综合确定,当作为人防工程时,还应考虑防空工程的最小覆土要求。
5.1.3 地下道路空间封闭,侧墙和顶部对驾驶人的行车视线影响较大,同时平纵组合效应对视线的影响比地上道路更强烈,因此,城市地下道路设计应注重平纵横组合效应对行车视线的影响。保证足够的行车视距,线形流畅,能够自然诱导驾驶人视线。
5.2 平面及纵断面设计
5.2.2 本条规定了城市地下道路的最大纵坡,当前国内外相关规范对地下道路的最大纵坡规定如下:
1)《城市道路工程设计规范》CJJ 37:当隧道长度大于100m时,隧道内的道路最大纵坡不宜大于3.0%;当受条件限制时,经技术、经济论证后最大纵坡可适当加大,但不应大于5.0%。
2)《公路隧道设计规范》JTG D70:隧道最大纵坡一般不大于3%,受地形等条件限制时,高速公路、一级公路中的中、短隧道可适当加大,但不宜大于4%;短于100m隧道纵坡可与隧道外接线道路相同。
3)挪威隧道设计手册:根据交通量确定最大纵坡,见表8。当设置超车道时,纵坡可在表8基础上增加1%。
表8 挪威隧道设计的最大纵坡
双向交通 | 单向交通 | |||
AADT | 0~1500 | >1500 | <15000 | >15000 |
最大纵坡(%) | 8 | 7 | 7 | 6 |
4)美国隧道设计手册:隧道最大纵坡不宜超过4%;确实需要可适当提高不宜大于6%。
5)其他国家隧道最大纵坡规定,见表9。
表9 其他国家隧道最大纵坡规定
国家 | 捷克 | 丹麦 | 埃及 | 芬兰 | 日本 | 荷兰 | 瑞典 | 土耳其 |
最大纵坡(%) | 3.75 | 3.20 | 5.10 | 7(50km/h) 5(50km/h) | 5(60km/h) | 4.5(特殊 情况为6%) | >6 | 3 |
各国标准规范对隧道最大纵坡规定差异较大,相比之下我国规范对隧道的最大纵坡规定比较严格。这用于指导城市地下道路设计时存在一定问题,一方面对纵坡限制过小,洞口的路线坡度应与隧道内坡度相同,必须增加展线长度以克服高差,必然会增加路线长度和隧道长度,使工程造价增加;另一方面由于城市地形环境较为苛刻,受既有地面和地下设施影响制约因素多,采用当前的最大纵坡标准往往会使工程无法实施。
相比《公路隧道设计规范》JTG D70,现行行业标准《城市道路工程设计规范》CJJ 37对隧道最大纵坡适当放宽,一般不超过3%,当受条件限制,经技术经济论证后最大纵坡可适当加大至5.0%,以适应城市地下道路建设需求,但是只笼统地给出最大纵坡,没有与道路设计速度相对应,导致不同设计速度都遵循相同的最大纵坡限制值。
现有规范的关于隧道条款规定主要针对传统的穿越江河、山体等障碍物的隧道或下立交等,一般是交通功能等级较高的道路才会采取隧道形式来穿越障碍物,因此,其作为道路上一个节点或路段,此类隧道的设计速度通常较高,从国内外已运营的城市隧道来看,一般大于等于40km/h。但是随着城市地下道路发展,出现一些新类型地下道路,如地下车库联络道,其作为城市支路网补充,功能等级低,设计速度一般在20km/h,因此,对于这种低设计速度的地下道路最大纵坡应该进一步放宽。
同时,城市交通中客运交通(中小型)所占比例大,车辆性能好,爬坡能力强,纵坡适当放宽不会对车辆运行速度产生较大影响,从目前上海、北京、广州、南京等城市地下道路都有采用较大纵坡的路段,运营状况良好。
此外,影响隧道最大纵坡确定的另一个因素是车辆尾气排放,纵坡越大,尾气排放量增多,影响隧道内的空气环境和行车安全。但这些可以通过其他措施来弥补,如采取限速,控制车辆运行速度,车辆运行速度下降后,尾气排放也会降低;增加通风设备数量和规模,增加通风量,可降低所要求的有害气体和烟雾的浓度,由此抵消因增大纵坡而增加的烟雾排放对司机视线的影响。
综上所述,结合国内外现有规范对隧道最大纵坡的规定,本规范规定城市地下道路设计速度大于等于50km/h的极限纵坡限制值不超过5%,与《城市道路工程设计规范》CJJ 37相关规定保持一致。但考虑到其他类型地下道路的建设需求,在满足行车安全等前提下,对于设计速度小于等于40km/h的最大纵坡可进一步增大。
当设计中需要考虑增大1%的纵坡时,在最大纵坡的经济技术论证中,应根据遭路类型、等级、地下道路长度,并考虑所在区域的气候海拔、主要车辆类型和交通流组成,地下道路的运营安全水平、安全设施配置标准等因素,进行论证比选。
1)敞开段纵坡较大时,尤其在冰雪天气,对行车安全具有很大影响,因此,需要严格控制敞开段的最大纵坡,并在条件允许的条件下采用一些措施减少路面的积雪结冰。常用的措施可在敞开段加盖顶棚,可以减少积雪;另外可以采用电加热融雪除冰技术,如导电混凝土路面、加热电缆路面或添加融雪剂材料等特殊路面,减轻敞开段的路面结冰;
2)城市地下道路设计应尽量采用较小纵坡,综合考虑各种机动车辆动力性能、道路等级、设计速度以及地形条件确定,当纵坡大于最大纵坡的推荐值时应限制坡长,但不得超过最大纵坡限制值。
除快速路外,当受地形条件或其他特殊情况限制或某些特殊情况,如采用小汽车专用或设置爬坡车道,经技术论证后可在最大值基础上增加1%,但应进行费用与效益的评估论证。
城市地下道路最小纵坡一般情况下与地面道路采用相同标准,即不应小于0.3%。但考虑到城市地下空间一体化开发,城市地下道路与地下建筑设施整体开发合建的情况越来越多,考虑到与建筑基地的协调,同时,地下道路受雨水影响较小,因此,本规范规定当条件受限路段,与地下建筑设施合建的地下道路的最小纵坡可再适当降低,但应严格控制坡长,并且采取措施确保排水畅通。
5.2.5 地下道路标高通常比两端的地面低,为防止周边地面雨水等汇入,通常在地下道路引道两端接地口处设置倒坡,形成排水驼峰。
排水驼峰应根据道路等级、排水重现期、周边地形环境等综合计算确定。一般情况下可参照《城市桥梁设计规范》CJJ 11-2011中对下立交的驼峰高程的规定,即应高于地面0.2m~0.5m左右,但有时受地下道路总体纵断面布置限制等,驼峰高程难以达到上述要求,应在进行综合计算基础上,采取其他措施,如在道路两侧采取截水措施,减少坡底聚水量,加强引道排水。同时,还应提高周边区域的排水能力,以防止周边地面雨水等汇入倒灌地下道路。
5.2.6 由于洞内外行车环境差异,进出洞口的亮度急剧变化,造成驾驶人明暗适应困难,产生视觉障碍,这些因素通常会造成进出洞口成为事故多发路段。在洞内外保持一定距离的线形一致性,自然诱导驾驶人视线,避免出现与驾驶人预期期望冲突的线形对提高洞口段行车安全具有重要作用。本规范借鉴了现有相关标准,将洞内外平面及纵断面线形保持3s行程距离的一致性列入规范之中,有条件情况下应尽量满足。
但各相关规范对洞口内外线形的一致性都没有给出明确解释,导致设计时对“保持一致性”的理解也存在差异。《公路工程技术标准》JTG B01-2014对洞口线形规定为“隧道洞口内外侧不小于3s设计速度行程长度范围内的平纵线形应一致”,没有说明“线形应一致”的含义。《公路隧道设计规范》JTG D70-2004对隧道及洞口线形的规定,与《公路工程技术标准》JTG B01-2014的规定相同。《公路路线设计规范》JTG D20-2006将“平纵线形应一致”修订为“平面线形不应有急骤的方向改变”,没有解释“有急骤的方向改变”含义。《城市道路工程设计规范》CJJ 37-2012规定:“隧道洞口内外侧在不小于3s设计速度的行程长度范围内均应保持一致的平纵线形。当条件困难时,应在洞口内外设置线形诱导和光过渡等保证行车安全的措施。”其中对“均应保持一致”也没有说明解释。如何理解规范中的“线形一致性”,不同角度具有不同的结论,不同理解,对工程规模、环境影响以及行车条件具有很大影响。
结合相关文献资料和实际工程经验,本规范认为城市地下道路的洞口线形设计应最大限度地顺应地形,与周围复杂的环境条件相协调,使总体方案做到最合理,使洞口位置做到最佳选择,有条件情况下尽量采取保持3s行程范围内的一致性,既要保证洞口线形的安全性,同时满足建设要求。“线形应一致”可解释为线形指标不要出现突变,即采用连续线形之间的曲率差异不大,洞内外3s行程的范围的线形标准相差不大,常见的线形突变情况有:①进洞口前连接的平面线形指标过高,甚至是长直线,大纵坡下坡,洞口附近是小半径平面线形和小半径凹型竖曲线;②地下道路内的平面线形指标高、纵坡较大下坡情况,出洞口后连接的平面线形指标过低,且纵坡大、坡差大、凸型竖曲线半径小等;③洞口采用缓和曲线时曲线超高渐变率过急。这些突变情况应在设计中避免。
5.3 停车视距
为了保证行车安全,驾驶人应能够随时看到汽车前面相当远的一段路程,一旦发现前方路面上有障碍物或迎面来车,能及时采取措施,避免相撞,这一必须距离称为行车视距。视距是道路设计中一个重要技术指标,行车视距直接影响行车安全与运行速度,行车视距包括停车视距、会车视距和超车视距,由于地下道路通常采用单向交通形式,因此,本规范主要考虑停车视距。
5.3.1 城市地下道路停车视距与地面道路是否存在差异,能否采用目前《城市道路工程设计规范》CJJ 37中的标准,本规范在编制过程中进行了研究,认为城市地下道路停车视距可以采用《城市道路工程设计规范》CJJ 37中的标准。原因主要有以下几点:
1)从停车视距的定义看,停车视距由反应距离、制动距离及安全距离三部分组成,见式(1),影响停车视距的主要因素为驾驶人反应时间及路面摩擦系数等,若这些因素差异不大,那么停车视距的标准也应该差异不大。
式中:Ss——停车视距(m);
V——设计速度(km/h);
μs——纵向摩擦系数,取0.4,按路面潮湿状态计算;
t——反应时间(s);
βs——安全系数,取1.2;
Sa——制动停止后安全距离(m)。
对于驾驶人反应时间,从当前国外研究以及同济大学对地下道路驾驶人的反应时间相关研究来看,见表10,不考虑驾驶人疲劳等特殊情况,在地面与地下行驶时,驾驶人反应时间差别不大,均值都在1.2s左右,因此,二者反应距离上差别不大。
表10 驾驶人反应时间
2)《城市道路工程设计规范》CJJ 37中对停车视距已经考虑一定的安全系数,因此,采用《城市道路工程设计规范》 CJJ 37给出的停车视距标准能够满足停车需求。
此外,英国隧道设计中认为地下道路内部一般不会直接受到雨水等作用,路面一般比较干燥,有较高的摩阻系数,采用与地面道路相同的停车视距下可能会更安全。美国AASHTO、世界道路协会、澳大利亚等国家隧道设计手册都提及在隧道内应加强对停车视距的检验,也没有专门给出地下道路的停车视距标准。
除了应满足《城市道路工程设计规范》CJJ 37的停车视距标准之外,对于货车比例较大的地下道路还应验算货车的停车视距,尤其是在下坡路段,货车的停车视距应满足现行行业标准《城市道路路线设计规范》CJJ 193的要求。
5.3.2 研究表明城市地下道路进出洞口亮度的急剧变化会造成驾驶人明暗适应困难,是形成事故多发路段的重要原因,明暗适应过程中视觉震荡产生的视觉障碍,会使驾驶人认知反应时间适当延长,因此,在进出洞口应适当增加停车视距,建议进出口停车视距可提高至1.5倍。
5.3.3 本条为强制性条文。城市地下道路封闭的空间构造使得相对于地面道路,行车视距受到道路及环境影响更强烈。在平曲线路段,侧墙是遮挡视线的主要障碍物。在竖曲线路段,对于凸型竖曲线,由于凸曲线的半径是根据满足停车视距的要求反算出,因此,一般来说凸型竖曲线通常能够满足视距要求。但对于凹型竖曲线,由于地下道路存在顶部,顶部会遮挡行车视线,尤其对于小半径的凹型竖曲线或净空较低的小客车专用地下道路,导致顶部对行车视距的影响更明显。从目前已运营的地下道路事故统计资料来看,视距不良路段容易成为地下道路的事故多发点。因此,城市地下道路设计应严格的通过停车视距验算,保证地下道路内部具有足够行车视距,提高行车安全。
车辆在曲线路段行驶的行车视距与视点位置、曲线参数半径、曲线长度、内侧汽车行驶轨迹半径、最大横净距等因素有关,在对具体每个曲线进行视距验算时,可通过计算最大横净距与实际横净距进行比较,当计算的最大横净距大于实际横间距时表明该曲线行车视距不满足要求,反之则满足要求;或根据实际横净距反算求出满足视距要求的平曲线半径与实际曲线半径进行比较。当大于实际曲线半径值时,则表明该曲线行车视距不满足要求。当验算停车视距不足时,可以从增大侧向净宽、增大曲线半径等方面改善行车视距,条件受限,无法通过线形改善视距时,可以采取限速,降低运行速度,保证停车视距。
视点位置是确定停车视距重要参数,国内外技术规范将视点位置大多定为车道的中心线位置,如我国的《公路工程名词术语》JTJ 002-87,《公路工程技术标准》JTG B01-2014,《公路路线设计规范》JTG D20-2006以及美国AASHTO (2004)道路几何线形设计等。本规范综合目前现有相关规范,对于平曲线路段:驾驶者视线高出路面1.2m(货车取2.0m),物高采用0.10m,内侧车道中心线作为视点位置,当道路弯道向右转时,位于内侧车道视点位置,如图10所示,对于不含检修道或人行道时,隧道实际横净距=车道宽度/2+侧向净宽;对于含有检修道或人行道时,隧道实际横净距=车道宽度/2+路缘带宽度+检修道或人行道宽度。
图10 视距验算时的驾驶者视点位置
平曲线路段的横净距可按表11所列公式计算,详见图11。
表11 平曲线路段最大横净距
注:a-最大横净距(m);R1-平曲线内侧汽车行驶轨迹半径(m);ψ-视距线所对的圆心角(°);S1-停车视距(m);α-道路中线转角(°);L1-曲线内侧汽车行驶轨迹长度(m);β-回旋线角(°);Ls-缓和曲线长度(m);am-汽车计算位置M或N到缓和曲线起点的距离(m);θ-通过汽车计算位置M(或N)与平曲线切线的平行线和M(或N)至缓和曲线终点间弦线的夹角或平曲线切线与缓和曲线的弦线的夹角。
对于含有缓和曲线的平曲线视距验算,采用解析法计算比较复杂。实际工作中也可以根据图解法画出视距曲线图,采用视距包络线作为平曲线视距的界限,判断圆曲线路段是否满足视距要求。
在竖曲线视距验算时,根据《城市道路路线设计规范》CJJ 193对目高的规定,凹形竖曲线目高为1.9m。当为混合车道,应验算大车停车视距,目高为2.0m,物高应为0.1m。
图11 横净距计算
6 出 入 口
6.1 一般规定
6.1.1 我国快速路运营经验表明主线出入口位置设置、出入口间距直接影响主线运行效率。不合理间距设置容易导致进出主线车辆形成严重交织,从而降低服务水平,造成交通拥堵。地下道路具有类似特征,多点进出的长距离地下道路出入口的设置应统筹考虑,既要考虑到服务所穿越区域的到发交通,又要注重全线整体运行效率。同时,地下道路的出入口位置还应考虑围岩等级及稳定性、地质条件等状况,根据实际状况,可适当调整位置,避免设置在地质条件差的路段。
6.1.2 在我国以及其他许多靠右行驶的国家都将出入口设置在主线右侧,采用“右进右出”模式,符合驾驶人的行驶习惯,方便进出。我国现有规范也都规定出入口应设置在主线的行车道右侧。考虑到交通组织需要、工程造价、施工难度、地下障碍物以及对地下空间的占用等因素,城市地下道路不可避免地存在左侧出入口的情况,尤其对于单管双层式地下道路,为便于施工和工程经济性,通常上下双向交通的出入口层匝道布置在同一位置,当某一方向的出入口设置在右侧时,则另一方向交通的出入口将不可避免设置在左侧。
左侧驶入和驶出不符合我国的驾驶习惯,不利于行车安全。在国内部分高速公路建设中立体交叉也存在左侧出口的情况。从运营效果来看,左侧出口区域容易出现走错路、停车观望、倒车等问题,存在较大安全隐患,易成为事故多发区域。在国外高速公路中也存在着左侧式出口匝道的情况,对左侧式出口匝道的安全性研究比较少,美国南佛罗里达大学曾对这方面集中开展了研究,通过收集73个出口匝道的事故统计资料及与之相关道路环境,其中7个左侧式出口,进行了详细统计分析,研究表明在同等交通流、道路环境条件下,左侧式出口的事故率、事故严重程度远高于右侧式情况,建议新建的道路应尽量避免设置左侧式出口,对于已运营道路应采取交通安全改善措施,提高运营安全。
本规范提出一般情况下出入口应设置在道路右侧,当条件受限时,可设置左侧入口,但应尽可能避免设置左侧出口,同时,应做好交通组织,通过设置辅助车道以及完善的交通工程措施等手段来提高左入口区域的行车安全。如可设置足够长度的辅助车道,辅助车道的具体要求应符合现行的相关标准要求;增加入口识别视距;增加合流段照明亮度;设置入口警告标志,提醒告知驾驶人前方左侧存在汇流车辆,交通标志宜采用光电式。
6 出 入 口
6.1 一般规定
6.1.1 我国快速路运营经验表明主线出入口位置设置、出入口间距直接影响主线运行效率。不合理间距设置容易导致进出主线车辆形成严重交织,从而降低服务水平,造成交通拥堵。地下道路具有类似特征,多点进出的长距离地下道路出入口的设置应统筹考虑,既要考虑到服务所穿越区域的到发交通,又要注重全线整体运行效率。同时,地下道路的出入口位置还应考虑围岩等级及稳定性、地质条件等状况,根据实际状况,可适当调整位置,避免设置在地质条件差的路段。
6.1.2 在我国以及其他许多靠右行驶的国家都将出入口设置在主线右侧,采用“右进右出”模式,符合驾驶人的行驶习惯,方便进出。我国现有规范也都规定出入口应设置在主线的行车道右侧。考虑到交通组织需要、工程造价、施工难度、地下障碍物以及对地下空间的占用等因素,城市地下道路不可避免地存在左侧出入口的情况,尤其对于单管双层式地下道路,为便于施工和工程经济性,通常上下双向交通的出入口层匝道布置在同一位置,当某一方向的出入口设置在右侧时,则另一方向交通的出入口将不可避免设置在左侧。
左侧驶入和驶出不符合我国的驾驶习惯,不利于行车安全。在国内部分高速公路建设中立体交叉也存在左侧出口的情况。从运营效果来看,左侧出口区域容易出现走错路、停车观望、倒车等问题,存在较大安全隐患,易成为事故多发区域。在国外高速公路中也存在着左侧式出口匝道的情况,对左侧式出口匝道的安全性研究比较少,美国南佛罗里达大学曾对这方面集中开展了研究,通过收集73个出口匝道的事故统计资料及与之相关道路环境,其中7个左侧式出口,进行了详细统计分析,研究表明在同等交通流、道路环境条件下,左侧式出口的事故率、事故严重程度远高于右侧式情况,建议新建的道路应尽量避免设置左侧式出口,对于已运营道路应采取交通安全改善措施,提高运营安全。
本规范提出一般情况下出入口应设置在道路右侧,当条件受限时,可设置左侧入口,但应尽可能避免设置左侧出口,同时,应做好交通组织,通过设置辅助车道以及完善的交通工程措施等手段来提高左入口区域的行车安全。如可设置足够长度的辅助车道,辅助车道的具体要求应符合现行的相关标准要求;增加入口识别视距;增加合流段照明亮度;设置入口警告标志,提醒告知驾驶人前方左侧存在汇流车辆,交通标志宜采用光电式。
6.2 出入口间距
当前我国北京、上海等大城市快速路交通拥挤现象日益严重,主要原因之一就是快速路出入口匝道间距较小,加之沿线地面商业开发程度高,辅路交通流量大,交织现象严重,降低了快速路通行能力。在相关规范中对快速路的不同类型的出入口设置最小间距作了详细规定。同样,对于多点进出城市地下道路,在规划设计中,出入口位置选择也至关重要,但考虑到在我国已运营的多点进出城市地下道路较少,无法获取不同出入口的设置对实际主线交通运行状况影响情况,因此在建议城市地下道路出入口间距可参考《城市快速路设计规程》CJJ 129出入口间距规定,本规范在此作了补充,给出了城市地下道路分别在设计速度50km/h、40km/h的出入口间距。
6.2.1、6.2.2 确定出入口最小间距的研究方法可分为实测经验法和理论模型法两类两种,目前《城市快速路设计规程》CJJ 129和《城市道路交叉口规划规范》GB 50647规定的最小间距都是基于工程实践经验计算法为主。模型法主要是以美国《道路通行能力手册》(HCM)中相关分析方法为主。
通过模型计算法结合实际运营经验确定40km/h和50km/h间距。基本计算原理根据前后匝道的类型组合关系,共分为4类模式,最小间距长度由加速车道长度、交通标志识别距离、交织长度以及减速车道长度组成,出入口间距应能保证主线交通不受分合流交通干扰,并为分合流交通加减速及换车道提供安全、可靠的路况条件。对于驶入-驶出模式的匝道,主要是满足交织要求,参考《道路通行能力手册》对交织区的分析法方法,采用车辆密度作为交织区服务水平的评价指标,手册规定12.0[pcu/(km·ln)]~17.0[pcu/(km·ln)]时为C级服务水平,密度为17.0[pcu/(km·ln)]~22.0[pcu/(km·ln)]时为D级服务水平。地下道路的饱和度通常较高,但又要保持交织区的交通顺畅,规定以密度20.0[pcu/(km·ln)]作为控制间距的标准。
本条规定是针对出入口设置在道路主线右侧的情况,但在特殊情况下地下道路还存在左侧进入,形成左进右出组合形式的出入口,这种情况下需要交织的车道数增加,必然导致交织距离增长,其间距应该增大,具体情况建议根据实际预测交通量进行测试分析,给出实际所需的距离,保证长度满足交织要求。
6.2.3 由于地下道路施工复杂,横断面变化会给施工带来困难,尤其是在采用盾构法施工时,不宜频繁变化更改横断面布置。因此,当受到施工工法受制时,地下道路的出入口之间宜将出入口加减速车道直接连接,形成辅助车道,用辅助车道实行加减速功能,避免了横断面的过渡变化带来的施工困难。
本规范中表6.2.2给出了出入口间距最短要求,当不满足该距离要求时,应设置辅助车道,但是当出入口间距很短,同时交织流量比较大时,可能即使设置辅助车道后也会不满足要求。因此,建议对于距离小于表6.2.2时,设置辅助车道后,还应该进行交织区的通行能力验证,以保证交织需求。
6.2.4 地下车库联络道应在有地块接入侧设置辅助车道,当两侧均有接入地块时,宜采用“主线车道+两侧辅助车道”布置形式;仅有单侧接入地块,宜采用“主线车道+单侧辅助车道”布置形式。
地下车库联络道内部设置出入口与周边地块地下车库连接,与一般的快速路出入口形式具有一定差别,同时,地下车库联络道主线设计速度低,因此,在控制出入口间距时,不适合采用上述6.2.2中的出入口间距计算模型。本规范在此借鉴了美国道路接入管理技术,将其按交叉口的接入控制来处理,对于无信号接入口间距研究,国内外相关文献考虑的因素主要包括:停车视距、冲突重叠区、引道视距、安全交叉间距、接入道路的出口道通行能力、驾驶人视觉特征等。接入间距越大,接入道路越少,则安全性及运营效率越高。
本规范从满足接入口停车视距要求、满足对接入口的识别视距要求、满足警告标志设置距离要求、分离右转冲突重叠区域、满足接入道路出口道的通行能力要求等五方面考虑接入间距,基于取最大值以及取整原则,结合现有研究成果,综合确定,设计速度20km/h,接入口安全间距标准见表12。
表12 接入口最小间距
6.3 分合流端
6.3.1 从目前高速公路、城市快速路运营来看,互通立交出入口区域由于需要分合流,交通运行环境复杂、车辆变换车道频繁、车速变化大,导致该区域通常是事故多发点。当该区域存在小半径平曲线、竖曲线或者平纵组合不良等情况,都会造成行车视距问题,增加行车安全隐患,更容易引发交通事故,因此,应避免在这些可能引起视距不良的路段设置出入口。
6.3.2、6.3.3 为保证驾驶人具有足够时间,在一定的距离前识别前方出口的存在,然后采取正常的变换车道驶离主线,进入减速车道,然后采取正常的减速度减速行驶至匝道,避免驾驶人对出口位置认识过迟而导致匆忙减速或误行倒车等行为发生,这个距离称为“识别视距”。在地下道路上由于合流点也通常是事故多发路段,为了充分保证地下道路的行车安全,本规范还规定了合流入口的识别视距。其目的也是保证主线的车辆能够及时发现匝道汇流进入主线的车辆,防止因车速差异较大,视距不足时,而造成主线车辆停车不及与汇入车辆发生追尾等事故。
本规范规定的识别视距与《公路路线设计规范》JTG D20中规定的互通立交识别视距定义相同。判断出口时,驾驶人应能够看到分流鼻端标线,故物高应为0,目高对凸形竖曲线规定为1.2m,对凹形竖曲线规定为1.9m;当为混合车道,货车比例较高时,应验算货车停车视距,货车目高规定为2.0m。因此,在出入口区域当存在半径较小的竖曲线或平曲线时,需要验算出入口的识别视距是否满足。
《公路路线设计规范》JTG D20中对出口识别视距规定要求较高,在条件受限制时,应大于1.25倍停车视距。《城市道路工程设计规范》CJJ 37考虑到目前立交及进出口间距密,交通运行状态与公路不一致,以及建设条件制约因素多,规定了在互通立交区域范围内主线行车视距宜大于等于1.25倍停车视距。本规范综合上述两者取值,考虑到目前由于多点进出的地下道路运营较少,对出入口区域的线形指标还缺乏深入研究,同时,地下道路制约因素也较多,地下道路行车环境、驾驶人视线等都相对较差,为充分保证地下道路的行车安全,本规范将出入口识别视距提高至2倍停车视距。由于判断出入口以分合流端的标线为目标,物高为0,因此,在确定凸形竖曲线半径时,在出入口区域道路主线应尽量采用较高的线形指标。
6.3.4 互通立交区域汇流鼻前,通常匝道与主线应保证一个通视三角区,主线100m和匝道60m,在这三角通视区范围内不应有遮挡视线的障碍物。地下道路由于主线、匝道两侧都存在侧墙,在汇流鼻端很难保证三角通视区,匝道上车辆在汇流前无法获知主线交通运行状况,容易造成随意汇入主线,而造成主线车辆发现不及而发生侧碰、追尾等交通事故发生。阻止匝道上车辆随意或者过早汇入主线,保证其能够有足够时间观察主线车流状况,加速到一定程度后减少与主线的运行速度差,这样才能提高行车安全。因此,本规范规定在匝道与主线间汇入段设置一定长度的隔离设施,保证车辆之间的通视,隔离长度为主线的一倍停车视距值。
隔离方式有标线隔离和物理分隔设施,建议地下道路的合流段采用物理隔离,分隔设施颜色宜醒目,能反光,具体还应符合《城市道路交通设施设计规范》GB 50688的规定,且注意隔离设施的高度,自身不能影响行车视距。
6.3.5 进入城市地下道路时,光线明暗过渡,驾驶人通常需要一个视觉适应过程,为减少在这段适应过程范围内主线车辆行车受干扰,提高入口附近的行车安全,本规范借鉴了挪威隧道设计手册的规定,认为在这个过渡适应的区域应避免设置合流点,距离为照明设计中的入口段长度与第一过渡段长度之和。
6.4 变速车道
在匝道与主线连接路段,为适应车辆变速行驶需要,而不致影响主线交通所设置的附加车道称为变速车道。变速车道包括减速车道和加速度车道。
地下道路的加减速车道设置还应考虑施工工法,由于横断面变化会给施工带来困难,尤其是在采用盾构法施工时,不宜频繁变化更改横断面布置,此时通常直接设置辅助车道将出入口之间连接,而避免分别设置加减速车道。
本条主要针对当设置加减速车道时需要满足的技术指标。地下道路变速车道也可分为直接式和平行式,直接式是不设平行路段,由主线斜向渐变加宽,形成一条与匝道相连接的附加车道;平行式是指增设一条与主线平行的车道,其特点是车道划分明确,行车容易辨识。当地下道路主线的直行方向交通量较少或匝道与主线速度相差较小时,可采用直接式减速车道;当直行方向交通量较大或匝道与主线速度相差较大时,宜采用平行式,由于地下道路通视特性差,加速车道宜采用平行式汇入主线。
6.4.1 减速车道长度由过渡段长度和减速车道规定长度组成,减速车道规定长度是从确保一条车道宽度的断面起到导流岛端部的长度。日本、美国和西欧等国家,都对减速车道车行状态做了许多不同假设。日本的假定是:车辆首先以该公路平均车速通过减速车道的前端,在三角段进行车道变换并同时利用发动机减速。美国各州公路与交通运输工作者协会(AASHTO)假定是:认为车辆先按主线平均车速由三角段转移车道进入到减速车道,之后再减速,第一次首先采用发动机来减速,第二次再利用制动器来进行减速,车速在到达减速车道终点时,减至匝道平均车速。
本规范计算时采用了AASHTO假设模型,车辆一般先按主线平均速度V0由三角过渡段转移进入减速车道,然后先采用发动机减速行驶t时间至V1;最后利用制动器减速到达减速车道终点,车辆减速至匝道平均速度V2。
1)利用发动机制动减速长度
式中:V0——初速度(m/s);
t——发动机制动器作用时间(s),取3s;
a1——发动机制动减速度(m/s2)。
参考《城市道路交叉口设计规程》CJJ 152中推荐的美国AASHTO关于平均行驶速度与设计速度关系,主线平均速度V0,见表13。
表13 设计速度与平均运行速度
发动机制动减速度a1计算采用《城市道路交叉口设计规程》CJJ 152推荐方法,计算如下:
各参数取值可参考《城市道路交叉口设计规程》CJJ 152。
2)利用制动器制动减速长度
式中:a2——制动器制动减速度(m/s2);
V1——用制动器减速前发动机制动后的行驶速度(m/s);
V2——匝道起点平均运行速度(m/s),取值可采用美国AASHTO推荐值,见表14。
表14 匝道设计速度与平均运行速度
制动器制动减速度a2计算为:
具体参数取值可参考《城市道路交叉口设计规程》CJJ 152,考虑到制动对乘客不舒服感觉,制动器制动减速度a2最大值不超过2.4m/s2为宜。
3)减速车道长度
通过上述公式计算得到不同主线设计速度与对应不同匝道设计速度下的减速车道长度。由于计算方法以及参数参考了《城市道路交叉口设计规程》CJJ 152-2010,因此,城市地下道路减速车道的计算值与《城市道路交叉口设计规程》CJJ 152-2010基本一致,因此,本规范对城市地下道路的减速车道长度规定与《城市道路交叉口设计规程》相同,见表15。
表15 减速车道长度
主线设计速度(km/h) | 80 | 60 | 50 | 40 | 30 | 20 |
减速车道长度(m) | 80 | 70 | 50 | 30 | 20 | 15 |
加速车道是车辆从匝道进入主线路时,为了减少对主线的影响而设置的过渡车道,不仅为车辆提供加速的场所,也为车辆提供一个与主线车辆合流的机会。加速车道长度设置是否合适在很大程度上决定了入口匝道连接段交通运行质量。加速车道长度设置过短,汇入车辆不能及时找到可插入间隙;或者不得不在加速车道上停车等待,造成后面车辆排队;或者强行进入,诱发交通拥挤和交通事故,降低主线服务水平。如果加速车道设置过长,则会增加工程建设成本。
由于地下道路主线、匝道两侧都存在侧墙,在汇流鼻端无法和地面道路一样保证三角通视区,为保证匝道车辆能够有足够时间观察主线车流状况,同时加速到一定车速,减少与主线的运行速度差异。城市地下道路加速车道长度模型还需要在地面道路变速车道计算模型基础上增加这一过程,总体分解为四个过程:车辆对主线车流的认识感知过程即视距隔离段距离、加速过程、等待合流段长度以及变道过程,即加速车道长度为:
式中:Sp——视距隔离段距离(m);
Sa——加速距离(m);
Sg——等待合流段长度(m);
Sc——车辆变道距离(m)。
城市地下道路的加速车道长度首先应满足车辆对主线车流的认识感知过程保证行车视距,在此基础上考虑到车辆的加速以及汇入过程。
视距隔离段距离Sp参见本规范“6.3分合流端”,加速距离、等待合流段长度计算采用与《城市道路交叉口设计规程》CJJ 152相同,本规范在此不作重新阐述,最后计算出的加速车道长度如表16。
表16 加速车道长度计算值(m)
6.4.4 渐变过渡段长度参考现行行业标准《城市道路交叉口设计规程》CJJ 152,长度计算方法如下:
1)计算方法一
渐变段长度根据车辆横移一个车道所需最短距离,横移时间取3s,过渡段长度为:
式中:Va——平均行驶速度(km/h)。
2)计算方法二
车辆“S”形行驶轨迹反向曲线计算方法。根据日本《城市道路设计规范宣讲材料》和《高速公路设计要领》,渐变段计算为:
式中:w——变速车道宽度(m),本规范计算取3.5m;
r——反向曲线半径(m);
i——超高横坡,取0;
u——横向力系数,本规范计算取0.16。
6.5 地下道路与地面道路衔接
6.5.1 本条借鉴了国外隧道设计规范的内容,从行车安全角度规定了城市地下道路出口接地点与地面交叉口的距离。研究表明,地下道路进出口的亮度急剧变化会造成驾驶明暗适应困难,剧烈的明暗过渡会使驾驶人瞳孔面积急剧变化。如果超出了驾驶人视觉适应能力,瞳孔将难以准确聚焦在视网膜上成像,从而产生瞬时盲期,此时若交叉口与地下道路出洞口距离过近,驾驶人不易识别交叉口,从而安全隐患极大。
因此,在交叉口与地下道路出洞口之间应保证足够的距离。对于城市下穿型的地下道路,出地下道路后通常设置一定长度的上坡敞开段,由于受竖曲线影响,车辆在爬升至地面接地点前通常很难对前方路况有详细了解,本条对于此类型的地下道路,规定了接地点与交叉口的距离,以保证驾驶人具有足够距离发现前方交叉口存在,能够有充足的视距发现交叉口车辆运行状况。这个距离根据交叉口类型不同,要求不同,具体规定见表17。对于山岭隧道等不存在敞开段接地点时,该距离可定义为隧道洞口至交叉口的距离。
表17 地下道路接地点与地面平面交叉口距离
6.5.2 驾驶人由于受地形道路压抑环境和“黑洞”、“白洞”的影响,当分流端与隧道洞口间距过小,车辆驶出隧道后进入互通前,驾驶人需要对大量道路信息做出判断,极易错过互通出口或在互通出口处犹豫、突然变换车道、急刹车等情况,影响了主线正常行车。此外,出口匝道的影响范围内一般情况下道路环境复杂,车道变换频繁,驾驶行为与基本路段有较大差异,驾驶人驾驶负荷和心理压力大幅度增加。进出隧道洞口与道路出口分流区域都是行车危险、事故多发路段,控制道路的分流端与隧道洞口间距的问题实质就是避免这两种危险区域的叠加。
我国在《公路路线设计规范》JTG D20-2006中提及相关规定:“隧道出口与前方互通式立体交叉的距离,应满足设置出口预告标志的需要;条件受限制时,隧道出口与前方互通式立体交叉减速车道渐变段起点的距离不应小于1000m,否则应在隧道入口前或隧道内设置预告标志”、“互通式立体交叉与前方隧道进口间的距离,应满足设置标志和设置标志以后对洞口判断所需的距离”。但该规定只是笼统地给出一个值,没有给出具体的计算分析方法,很多情况下很难满足1000m的规定要求。国内长安大学研究认为该距离偏高,通过研究认为在高速公路二级服务水平下,隧道出口与互通式立交出口的极限最小间距不宜小于600m,一般值宜大于800m,成果已应用于部分高速公路的设计之中。
从国外设计手册规范要求来看,挪威隧道设计手册对直接式减速车道长度的起点与洞口距离规定应大于一倍停车视距的距离。荷兰在这方面开展了较为详细的研究,对加减速车道起终点与洞口的距离与事故率建立的关系,见图12。
图12 加减速车道起终点与洞口的距离与事故率的关系
综上所述,该距离与预告标志的设置、光线变化有关,交通量、车辆横移行程等多因素有关。综合考虑行车安全性以及城市道路实际工程特点和建设需求,本规范规定城市地下道路洞口与邻接地面道路出口匝道减速车道渐变段起点的距离应满足设置出口预告标志需要,条件受限时,该距离不应小于1.5倍主线停车视距。除需满足最短距离外,还应采取一些安全保障措施,如在地下道路洞内连续设置出口预告标志,提醒驾驶人前方出口匝道,或在地下道路出口与出口匝道之间设置减速振动带,以强化提示前方出口。
6.5.3 本规范6.5.1条从保证行车安全角度规定地下道路出洞口与地面交叉口距离,但对于城市区域,该距离还应满足交叉口通行效率和交通组织的需求。《城市快速路设计规程》CJJ 129中对高架道路匝道与交叉口距离规定:下匝道坡脚至交叉口停车线距离由红灯期间车辆排队长度以及匝道左(右)转和地面道路右(左)转车辆转换车道所需的交织长度两部分组成。规定一般大于140m,在特殊困难路段不小于100m。上坡匝道坡脚至交叉口缘石切点处距离一般只要保证横向道路和对向车辆上匝道的交织长度即可,一般采用50m~100m。
对于地下道路出洞口后,与前方交叉口尤其是信号控制交叉口的距离仍需要考虑排队和交织长度的要求,从对交叉口的交通影响来看,地面下道路出洞口与高架匝道接入地面类似,差异不大。因此,对于地下出洞口接地点与地面道路的交叉口距离可采用快速路规程的规定。
对于重要交叉口,宜接入进行专项的交通组织设计,评价地下道路出入口接入交叉口时,对交叉口的通行能力影响,优化布置接入点。
7 交通设施
7.1 一般规定
7.1.2 城市地下道路的交通标志一般设置在道路前进方向的右侧或上方,但由于城市地下道路空间封闭、设计净高较小,两侧侧墙对标志的遮挡影响比较大,所以,城市地下道路交通标志设置时应注意侧墙对交通标志的可识别性影响,满足道路使用者在动态条件下的视认性要求,考虑在动态条件下发现、判读标志及采取行动所需的时间和前置距离,保证充分的视认距离,设置在驾驶人最容易识别位置。
7.1.3 由于城市地下道路空间相对封闭,传统的靠反光交通标志在地下道路内部使用时间较长后会因空气油污,而失去反光效果。因此,城市地下道路宜采用照明式和主动发光式标志,增加交通标志的可识别性。
其中,照明式又可分为内部照明式和外部照明式。内部照明式又可分为:一是在内部设置灯泡或灯管,做成灯箱形式,这种标志体积相对笨重,且内部灯管易损坏;另外一种采用LED光源,这种标志一般体薄量轻,在有限的空间内,便于悬挂,同时亮度衰减慢,便于长期工作。发光式一般是指标志的字体直接发光。但无论采用何种光电标志形式,由于标志本身不能反光,一旦内部电路出故障时,标志功能作用将丧失。因此,城市地下道路交通标志最好是采用发光与被动反光相结合方式,这样既能有效的保证标志的使用效果,又可以提高标志的可靠性。
7.1.4 城市地下道路设计净空小,由于交通标志布设不得侵入地下道路建筑限界内,因此,地下道路的交通标志在尽可能满足现行相关标准的情况下,尺寸可适当调整,对降低尺寸的交通标志,应保证起驾驶人的可读性和可视性。此外,还可以通过增强照明、优化标志版面信息等措施提高标志的可读性和识别性。
设计中可参考在编的国标《城市道路交通标志和标线设置规范》GB 51038,对地下道路内或桥下因建筑限界、结构承载能力限制等特殊情况,需缩小标志版面尺寸时,规定可适当减小文字高度,最小高度不应小于一般值的0.8倍,或采用高宽比为1:0.75的窄字体,但不得改变版面各要素之间的相互关系。
7 交通设施
7.1 一般规定
7.1.2 城市地下道路的交通标志一般设置在道路前进方向的右侧或上方,但由于城市地下道路空间封闭、设计净高较小,两侧侧墙对标志的遮挡影响比较大,所以,城市地下道路交通标志设置时应注意侧墙对交通标志的可识别性影响,满足道路使用者在动态条件下的视认性要求,考虑在动态条件下发现、判读标志及采取行动所需的时间和前置距离,保证充分的视认距离,设置在驾驶人最容易识别位置。
7.1.3 由于城市地下道路空间相对封闭,传统的靠反光交通标志在地下道路内部使用时间较长后会因空气油污,而失去反光效果。因此,城市地下道路宜采用照明式和主动发光式标志,增加交通标志的可识别性。
其中,照明式又可分为内部照明式和外部照明式。内部照明式又可分为:一是在内部设置灯泡或灯管,做成灯箱形式,这种标志体积相对笨重,且内部灯管易损坏;另外一种采用LED光源,这种标志一般体薄量轻,在有限的空间内,便于悬挂,同时亮度衰减慢,便于长期工作。发光式一般是指标志的字体直接发光。但无论采用何种光电标志形式,由于标志本身不能反光,一旦内部电路出故障时,标志功能作用将丧失。因此,城市地下道路交通标志最好是采用发光与被动反光相结合方式,这样既能有效的保证标志的使用效果,又可以提高标志的可靠性。
7.1.4 城市地下道路设计净空小,由于交通标志布设不得侵入地下道路建筑限界内,因此,地下道路的交通标志在尽可能满足现行相关标准的情况下,尺寸可适当调整,对降低尺寸的交通标志,应保证起驾驶人的可读性和可视性。此外,还可以通过增强照明、优化标志版面信息等措施提高标志的可读性和识别性。
设计中可参考在编的国标《城市道路交通标志和标线设置规范》GB 51038,对地下道路内或桥下因建筑限界、结构承载能力限制等特殊情况,需缩小标志版面尺寸时,规定可适当减小文字高度,最小高度不应小于一般值的0.8倍,或采用高宽比为1:0.75的窄字体,但不得改变版面各要素之间的相互关系。
7.2 交通标志
7.2.1 为合理引导周边地面道路交通进入地下道路,提高地下道路利用效率,充分发挥地下道路缓解交通功能,城市地下道路除下穿路口的地下通道外,在地面周边路网一定范围内应设置入口指路标志。
下穿路口的地下通道是指下穿一个或连续下穿多个道路交叉口的地下道路,也俗称下立交,这类型地下道路一般距离短,作为主线的一部分,主要解决节点交通,此外通常地面都设有辅道。因此,下穿路口的地下通道专门在周边路网范围内设置入口引导标志的必要性不大。
国标《城市道路交通标志和标线设置规范》GB 51038对城市快速路的出入口引导提出了详细的规定。但对于地下道路,除了快速路等高等级道路外,地下车库联络道等也需入口引导。因此,本规范在《城市道路交通标志和标线设置规范》GB 51038基础上,进一步补充规定了这些类型城市地下道路的入口引导标志设置。
对于快速路和主干道,采用与《城市道路交通标志和标线设置规范》GB 51038一致的规定。
对于地下车库联络道应在入口周边1km范围设置引导标志,引导标志应指示方向和距离,设置在周边的主要交叉口范围处。
7.2.2 本条规定了地下道路入口前应设置的交通标志,包括地下道路指示标志,以及根据交通管理需求而设置的限速、限高、限制通行、禁止停车、禁止超车等禁令标志。其中,地下道路指示标志用于指示前方地下道路的名称及长度。考虑到当地下道路照明不足时,在入口前还应设置开车灯警告标志,提醒警告驾驶人在进入道路内部打开前照灯。
对于有限高有要求的地下道路,从国内目前已运营情况来看,大多在入口前连续设置2次~3次超高警告,采用软硬相结合的控制措施,最后一次应为强制性阻止车辆进入措施,如设置硬杆型防撞门架。还有部分地下道路采用4次警告措施,例如,上海复兴东路隧道,在浦西、浦东入口处共设置了四级警告:一级警告采用限高标志牌;二级警告采用交通限高标志牌结合硬橡胶条击打方式;三级警告采用红外线超高检测仪,红外线超高检测仪与隧道入口处信号灯联动,当检测仪检测出超高车辆时,入口的红色信号灯亮起,入口检查亭值班人员可引导超高车辆驶离隧道;四级警告为钢结构防撞门架,强制性阻止超高车辆驶入。目前运营来看,基本通过前两级的超高警告可将超高车辆分离,逐级设置超高警告的方法效果比较明显。
地下道路入口设计还应体现道路“容错性”的设计理念,设置绕行通道,各级警告标志之间应保持一段距离,能保证误闯入的超高车辆能够及时分离,当最后被强制性禁止通行后也能通过引导,绕行驶离主线,以不阻碍进入地下道路的正常交通通行。
7.2.6 出口预告标志用于告知驾驶人下一个出口的距离和所能到达目的地,使驾驶人能够提前变换车道,顺利驶出主路。对于多点进出的长距离城市地下道路,在次出口之前应连续设置出口预告标志,且出口预告标志应连续设置。
1、2 《道路交通标志和标线》GB 5768和《城市道路交通标志和标线设置规范》GB 51038的出口预报标志规定主要针对高速公路或城市快速路,预告应至少进行4级,即在距离减速车道的渐变段起点2km、1km、500m和起点处,应分别设置2km、1km、500m出口预告标志和出口预告(行动点)标志。
高速公路或城市快速路设计速度相对较高,一般都大于等于60km/h,但对于一般的城市地下道路设计速度相对较低,且出入口间距较短,因此,上述出口预告标志设置标准不适用于此种情况。
本规范在参考借鉴相关国家标准的基础上,通过设计速度进行界定,当设计速度大于等于60km/h的高等级地下道路,出口预告标志的规定与现行国家相关标准一致,具体设计可参考《城市道路交通标志和标线设置规范》GB 51038。补充了设计速度小于60km/h的地下道路出口预告标志的设置,规定分别在减速车道的渐变段起点处、前250m、500m及1km等处布置出口预告标志,具体位置可根据地下道路出口实际情况适当调整,最后在出口分流端还设置出口确认标志。
3 地下车库联络道是一种特殊形式的多点进出型地下道路,出口包括地块车库和地面道路出口两种类型。地下车库联络道的出口预告标志应对前方出口地面道路名称、地块停车库名称、方向、距离进行预告,出口预告标志不宜小于2级,并应在出口分流端设置出口确认标志。
其中,对于地面道路出口的引导,可根据地面道路的重要程度,区分引导,对于重要道路的可增加预告级数,如当出口地面道路为快速路或主干路时,可增加至3级预告。
7.2.9 线形指标较低的地下道路对驾驶人视线影响较大,建议对线形指标较低的地下匝道、主线等曲线路段应设置线形诱导标志,急弯时可布设急弯警告标志,提醒警告驾驶人。
7.3 交通标线
7.3.1、7.3.2 地下道路进出洞口、急弯等路段通常是事故多发路段,因此,规定在这些路段范围设置实线车道分界线,禁止变换车道和超车。
7.3.5 城市地下道路两侧干扰少,尤其是在进入地下道路的下坡长直线、大半径曲线路段都容易诱发超速;当在高速情况下突然驶入线形指标较低的小半径、急弯、陡坡等路段时极易发生交通事故,因此,本条规定在进入事故易发路段之前通过设置减速振荡标线,采取一定交通措施控制车辆运行速度。
7.4 交通防护设施
城市地下道路防护设施包括两侧防撞侧石、混凝土护栏以及防撞垫、防撞桶等。
7.4.1 城市地下道路一般不设置检修道,内侧车道行驶的车辆与侧墙的侧向距离较小,为防止车辆失控直接与碰撞侧墙,避免对结构造成破坏。同时,侧墙内部都一般布设运营所必需的设备系统,车辆直接碰撞侧墙后也会对内部设备系统造成损害。因此,城市地下道路必须设置防护设施,避免失控车辆与侧墙直接碰撞。从应用来看,当前城市地下道路两侧大多采用混凝土防撞侧石作为防撞设施,具体设置标准可参考国家现行标准。
7.4.2 本条规定在分流端部应设置防撞垫(防撞桶)等防撞设施,防止车辆与分流端部结构发生碰撞。
7.4.3 城市地下道路敞开段通常采用路侧护栏与地面道路分隔,防止地面道路车辆跌入。本条规定了路侧护栏端部应作安全性处理,避免直接暴露,因为,车辆与未经处理的护栏端头碰撞,碰撞角度大、缓冲时间短、加速度大,会对车辆和乘员造成严重危害。护栏端部处理方法较多,一般常用方法有:①采用吸能型端部设计;②护栏端部外展到路侧外;③护栏端部采用埋入式设计;④设置防撞桶。各种方法都有各自适用性,建议在设计时应根据实际情况,考虑工程成本,选取合适的处理方法。
7.5 交通控制及诱导设施
交通信号控制及诱导设施主要包括车道指示器、可变信息标志、可变限速标志以及交通区域控制单位等外场设备。
7.5.2 本条规定了地下道路入口前的交通信号灯设置,红色灯表示地下道路关闭,禁止驶入,绿色灯表示地下道路正常通行,而左转箭头灯则表示在突发情况下,地下道路关闭,车辆驶入对向车道或采取掉头转弯。城市地下道路的信号灯应设置在地下道路入口前的绕行通道或横向连接道前,保证车辆在发现信号灯指示地下道路封闭的信息后能够及时采取措施,通过绕行通道驶出主线,或者采用横向连接道驶入对向车道掉头转弯。该处的横向连接道不是地下道路内部的横向连通道,而是在入口前沟通连接左右幅道路。由于城市道路一般采用整体式路基,因此,横向连接道一般就是中央分隔带的开口段。交通信号灯应显示清晰,并保证视认范围,视认范围应根据车速和车道布置情况确定,不存在盲区。
7.5.3 车道指示器间距约500m设置一组,在长地下道路内标志间距以能看到一个接一个为准,在曲线处,应在弯道前设置一组标志。
国外隧道内车道指示器除了绿色箭头灯和红色叉形灯之外还有黄色箭头灯。绿色箭头灯亮时表示本车道准许车辆通行;红色叉形灯亮时表示本车道不准通行,而黄色箭头灯表示前方本车道封闭,提醒驾驶人及时变换车道,让驾驶人有个适应过渡过程,同时也有利于提高车道利用率,见图13。
图13 车道指示器
正常交通运行状况下,车道指示器也可以关闭不显示任何内容,事故、火灾等突发事件或养护等情况下,需要关闭部分车道时必须开启车道指示器。双面显示的一对绿色箭头灯不能同时显示绿色。
各种车道指示器的含义可在地下道路入口前可通过静态交通标志或VMS为驾驶人解释。
考虑到城市地下道路空间有限,车道指示标志的布设不得侵入地下道路建筑限界内,若条件受限时,可适当缩小车道指示器标志尺寸,但要保证驾驶人的可读性和识别性。
8 安全与运营管理设施
8.2 机电及其他设施
8.2.1 地下道路通风系统应综合考虑道路等级、工程规模、设计交通量、车种构成与有害气体排放量、设计车速、道路平纵线形、环境保护、火灾时烟气控制和运营费用等因素。城市地下道路通风系统设计还可参考《公路隧道通风设计细则》JTG/T D70/2-02相关规定。
交通量预测是通风系统设计的基础数据之一,每个工程各有不同,如果统一按最大适应交通量进行需风量计算,可能会造成通风系统规模过大。所以,一般来说,有交通量预测量数据的工程,通风设计应以预测交通量为依据,同时校核最大适应交通量下的需风量,评估系统设计余量;没有交通量预测的工程,通风计算可按最大适应交通量。
在采用纵向通风的较短地下道路中,高温段已接近洞口,对行车和设备都不会产生很大影响;而对于特长地下道路,高温段较长,会影响司乘人员的舒适性以及设备的安全运行,因此要采取适宜的降温措施。
8.2.2 1994年,德国针对自然通风的应用进行了研究,在RABT标准中认为长度350m的隧道(或不超过700m)在发生火灾情况下,无需使用应急出口与机械通风设备,即可保证隧道安全性。法国国家公路网的隧道如果超过以下长度,则需要采取火灾烟气控制措施:市区300m,一般情况下非市区500m,特殊情况下的非市区800m~1000m(如果单向AADT小于2000辆)。英国采用自然通风的隧道长度为400m,但还需要进行可靠性论证。美国按照NFPA的指导手册,长度达到240m的隧道可采取自然通风方法。
对于短距离的地下道路,考虑到节能需要,一般可采取自然通风方式。对于一些特殊情况的短距离地下道路,尤其是人车混行时,为保证空气卫生质量,可根据实际情况,采用机械通风方式。
8.2.3 根据CO卫生标准,结合目前国内尾气控制的现状(目前我国有很多城市尚有国Ⅰ标准排放汽车的使用),提出城市地下道路通风标准。一般城市地下道路内均采用交通监控设施,交通阻滞长度达到一定程度时可采取交通管制措施控制进入车辆。因此,CO的浓度以阻滞时间不超过45min的卫生条件来确定。此外,各地可根据当地具体的环保要求,适当提高标准。
8.2.5 当地下道路废水无法排入市政污水管网或合流管网,而只能进入市政雨水管网或附近河道时,地下道路内泡沫灭火系统采用的泡沫原液必须为环保型,且经稀释后允许排入河道的液剂。
暴雨重现期的取值参照《建筑给水排水设计规范》GB 50015-2003下沉式广场、地下车库坡道出入口的取值范围以及《地铁设计规范》GB 50157-2003的有关规定。重现期的选用应根据地下道路的重要程度、短期积水能引起的后果确定,并与当地市政排水采用的标准一致。
作为地下道路,短期积水引起的后果(人员和财产损失)远比地面道路严重,各地已有不少惨痛的教训。目前在修订的新版《室外排水设计规范》GB 50014中,已增加了地下道路的暴雨重现期的选用:特大城市为30年~50年,一般城市为20年~30年。考虑到各地情况有所不同,故本标准将暴雨重现期的取值下限采用20年,如果是重要区域、特大城市的地下道路,标准应适当提高。当周边地面排水能力无法满足地下道路的排水量,需要采取一定措施,如采取独立的排水系统或者在地下道路入口处增加雨水调蓄池,提前防范雨水进入。
8.2.7 电力负荷分级原则是根据供电可靠性及中断供电在安全、经济上所造成的损失或影响程度进行。
一级负荷中特别重要负荷:指火灾时须继续维持供电的设备。
一级负荷:中断供电将造成人身伤亡、中断供电将造成重大政治影响、中断供电将造成重大经济损失、中断供电将造成公共场所秩序严重混乱的电力负荷。
二级负荷:中断供电将造成较大经济损失、中断供电将造成公共场所秩序混乱、中断供电造成较大政治影响的电力负荷。
三级负荷:不属于一级和二级的其他电力负荷。
8.2.8、8.2.9 环境条件主要是指隧道入口环境对入口加强照明设计的影响,例如:入口光过渡所采用的形式(人工光过渡还是人工与天然光过渡组成的混合光过渡)、隧道入口两侧的植被情况、隧道入口段的坡度及洞口的朝向等因素,目的是综合上述影响环境的条件并结合主要交通指标,从而确定一个比较合理的洞外亮度标准。
工程设计要考虑的内容是:照明光源的确定(光源的形式、发光效率、寿命、再启动时间、舒适度、节能等)、灯具的布置、照明系统接线形式、灯具及管线的安装,防火等问题。
交通状况指单、双向交通、设计车速、设计通行能力、车种比例。
通风方式:通风设计的烟雾浓度标准与照明光源有关,隧道中布置通风设备时,应考虑对照明灯具在相对位置上的影响。
供电条件:应采取可靠的系统接线或设备保证照明电压的偏差值在允许范围之内,满足光源的寿命指标。同时,当部分电源故障瞬间,应从接线形式采取措施,避免出现隧道照明的暗区。
运营管理是指照明设计中的设备选型、安装、线路敷设应有利于维护、保养的需要。
8.2.13 弱电系统工程接口实施主要是为了实现运营管理中心对地下道路内相关机电设备的监控与管理以及对内、对外的通信联系等功能,实现道路一体化统一管理、通信等功能,加强事件处置有效性以及危害抑制性,并可为相关社会资源提供可共享的使用空间、线路通道等。城市地下道路弱电系统设计还应符合《城市道路交通设施设计规范》GB 50688相关规定。
8.2.16 本条规定了需要设置运营管理中心的地下道路规模条件,对于短距离、规模较小的地下道路可以根据需要以及实施条件设置监控、应急处理管理所。
8.2.17、8.2.18 分别规定了城市地下道路运营管理中心设置的一般原则,应具备的功能以及基本组成部分,管理中心的位置应便于日常维护管理以及在突发事件下应急处置。
8.2.19 本条规定了当多条城市地下道路位置比较接近时,可以对地下道路进行集中布置营管理中心,实现地下道路管理用房、运营设备、管理人员、维修应急车辆等要素的优化资源配置。
以上海市为例,从2007年就开始开展了地下道路集中监控管理的研究,目前有人民路和打浦路两个地下道路群监控中心,每座监控中心都承担3条~4条地下道路的监控和管理职责。其中打浦路监控中心位于于世博园区旁,建成于2010年,负责打浦路隧道、打浦路复线隧道、龙耀路隧道等地下道路的监控运行,并预留了远期其他隧道的接入条件。
集中布置的运营管理中心应该能同时满足多条地下道路的总体监控功能、运营管理以及可靠性要求,还应综合考虑与各地下道路的距离,将救援线路长度和救援时间控制在合理范围内,能够满足迅速应急救援要求。人民路地下道路群运营管理中心为例,采用“五房合一”,管理人民路隧道、银城东路下立交、新建路隧道、延安东路隧道、东西通道共5条地下道路,其中东西通道尚处于设计阶段,合并的运营管理中心与其所监控的各地下道路距离以及应急救援路线,见表18。实践运营表明合并运营管理中心,集中管理,对精简机构,减少人员,节约建设用地,降低运营成本具有重要作用。
表18 上海市人民路地下道路群运营管理中心与所监控的各地下道路
8 安全与运营管理设施
8.2 机电及其他设施
8.2.1 地下道路通风系统应综合考虑道路等级、工程规模、设计交通量、车种构成与有害气体排放量、设计车速、道路平纵线形、环境保护、火灾时烟气控制和运营费用等因素。城市地下道路通风系统设计还可参考《公路隧道通风设计细则》JTG/T D70/2-02相关规定。
交通量预测是通风系统设计的基础数据之一,每个工程各有不同,如果统一按最大适应交通量进行需风量计算,可能会造成通风系统规模过大。所以,一般来说,有交通量预测量数据的工程,通风设计应以预测交通量为依据,同时校核最大适应交通量下的需风量,评估系统设计余量;没有交通量预测的工程,通风计算可按最大适应交通量。
在采用纵向通风的较短地下道路中,高温段已接近洞口,对行车和设备都不会产生很大影响;而对于特长地下道路,高温段较长,会影响司乘人员的舒适性以及设备的安全运行,因此要采取适宜的降温措施。
8.2.2 1994年,德国针对自然通风的应用进行了研究,在RABT标准中认为长度350m的隧道(或不超过700m)在发生火灾情况下,无需使用应急出口与机械通风设备,即可保证隧道安全性。法国国家公路网的隧道如果超过以下长度,则需要采取火灾烟气控制措施:市区300m,一般情况下非市区500m,特殊情况下的非市区800m~1000m(如果单向AADT小于2000辆)。英国采用自然通风的隧道长度为400m,但还需要进行可靠性论证。美国按照NFPA的指导手册,长度达到240m的隧道可采取自然通风方法。
对于短距离的地下道路,考虑到节能需要,一般可采取自然通风方式。对于一些特殊情况的短距离地下道路,尤其是人车混行时,为保证空气卫生质量,可根据实际情况,采用机械通风方式。
8.2.3 根据CO卫生标准,结合目前国内尾气控制的现状(目前我国有很多城市尚有国Ⅰ标准排放汽车的使用),提出城市地下道路通风标准。一般城市地下道路内均采用交通监控设施,交通阻滞长度达到一定程度时可采取交通管制措施控制进入车辆。因此,CO的浓度以阻滞时间不超过45min的卫生条件来确定。此外,各地可根据当地具体的环保要求,适当提高标准。
8.2.5 当地下道路废水无法排入市政污水管网或合流管网,而只能进入市政雨水管网或附近河道时,地下道路内泡沫灭火系统采用的泡沫原液必须为环保型,且经稀释后允许排入河道的液剂。
暴雨重现期的取值参照《建筑给水排水设计规范》GB 50015-2003下沉式广场、地下车库坡道出入口的取值范围以及《地铁设计规范》GB 50157-2003的有关规定。重现期的选用应根据地下道路的重要程度、短期积水能引起的后果确定,并与当地市政排水采用的标准一致。
作为地下道路,短期积水引起的后果(人员和财产损失)远比地面道路严重,各地已有不少惨痛的教训。目前在修订的新版《室外排水设计规范》GB 50014中,已增加了地下道路的暴雨重现期的选用:特大城市为30年~50年,一般城市为20年~30年。考虑到各地情况有所不同,故本标准将暴雨重现期的取值下限采用20年,如果是重要区域、特大城市的地下道路,标准应适当提高。当周边地面排水能力无法满足地下道路的排水量,需要采取一定措施,如采取独立的排水系统或者在地下道路入口处增加雨水调蓄池,提前防范雨水进入。
8.2.7 电力负荷分级原则是根据供电可靠性及中断供电在安全、经济上所造成的损失或影响程度进行。
一级负荷中特别重要负荷:指火灾时须继续维持供电的设备。
一级负荷:中断供电将造成人身伤亡、中断供电将造成重大政治影响、中断供电将造成重大经济损失、中断供电将造成公共场所秩序严重混乱的电力负荷。
二级负荷:中断供电将造成较大经济损失、中断供电将造成公共场所秩序混乱、中断供电造成较大政治影响的电力负荷。
三级负荷:不属于一级和二级的其他电力负荷。
8.2.8、8.2.9 环境条件主要是指隧道入口环境对入口加强照明设计的影响,例如:入口光过渡所采用的形式(人工光过渡还是人工与天然光过渡组成的混合光过渡)、隧道入口两侧的植被情况、隧道入口段的坡度及洞口的朝向等因素,目的是综合上述影响环境的条件并结合主要交通指标,从而确定一个比较合理的洞外亮度标准。
工程设计要考虑的内容是:照明光源的确定(光源的形式、发光效率、寿命、再启动时间、舒适度、节能等)、灯具的布置、照明系统接线形式、灯具及管线的安装,防火等问题。
交通状况指单、双向交通、设计车速、设计通行能力、车种比例。
通风方式:通风设计的烟雾浓度标准与照明光源有关,隧道中布置通风设备时,应考虑对照明灯具在相对位置上的影响。
供电条件:应采取可靠的系统接线或设备保证照明电压的偏差值在允许范围之内,满足光源的寿命指标。同时,当部分电源故障瞬间,应从接线形式采取措施,避免出现隧道照明的暗区。
运营管理是指照明设计中的设备选型、安装、线路敷设应有利于维护、保养的需要。
8.2.13 弱电系统工程接口实施主要是为了实现运营管理中心对地下道路内相关机电设备的监控与管理以及对内、对外的通信联系等功能,实现道路一体化统一管理、通信等功能,加强事件处置有效性以及危害抑制性,并可为相关社会资源提供可共享的使用空间、线路通道等。城市地下道路弱电系统设计还应符合《城市道路交通设施设计规范》GB 50688相关规定。
8.2.16 本条规定了需要设置运营管理中心的地下道路规模条件,对于短距离、规模较小的地下道路可以根据需要以及实施条件设置监控、应急处理管理所。
8.2.17、8.2.18 分别规定了城市地下道路运营管理中心设置的一般原则,应具备的功能以及基本组成部分,管理中心的位置应便于日常维护管理以及在突发事件下应急处置。
8.2.19 本条规定了当多条城市地下道路位置比较接近时,可以对地下道路进行集中布置营管理中心,实现地下道路管理用房、运营设备、管理人员、维修应急车辆等要素的优化资源配置。
以上海市为例,从2007年就开始开展了地下道路集中监控管理的研究,目前有人民路和打浦路两个地下道路群监控中心,每座监控中心都承担3条~4条地下道路的监控和管理职责。其中打浦路监控中心位于于世博园区旁,建成于2010年,负责打浦路隧道、打浦路复线隧道、龙耀路隧道等地下道路的监控运行,并预留了远期其他隧道的接入条件。
集中布置的运营管理中心应该能同时满足多条地下道路的总体监控功能、运营管理以及可靠性要求,还应综合考虑与各地下道路的距离,将救援线路长度和救援时间控制在合理范围内,能够满足迅速应急救援要求。人民路地下道路群运营管理中心为例,采用“五房合一”,管理人民路隧道、银城东路下立交、新建路隧道、延安东路隧道、东西通道共5条地下道路,其中东西通道尚处于设计阶段,合并的运营管理中心与其所监控的各地下道路距离以及应急救援路线,见表18。实践运营表明合并运营管理中心,集中管理,对精简机构,减少人员,节约建设用地,降低运营成本具有重要作用。
表18 上海市人民路地下道路群运营管理中心与所监控的各地下道路
8.3 防灾设计
8.3.1 城市地下道路灾害主要类型包括:火灾、水淹、地震及人为破坏爆炸等。其中地下道路交通事故发生频率相对较高,并往往引发火灾,是主要的灾害防范类型。
8.3.2 城市地下道路防灾设计应遵照“预防为主、防救并重、快速疏散”的工作方针,结合城市地下道路功能用途、设计方案、交通组成、环境条件等因素,统筹考虑道路使用者安全、土建结构保护以及交通运营管理等方面要求。
防灾设计包含防、减、救灾三类措施。防灾措施主要以科学设置交通安全设施及合理进行交通组织设计为主;减灾措施包括合理设置消防灭火设施、通风排烟设施、应急照明设施、火灾报警设施、综合监控设施、结构耐火设施以及逃生疏散设施等;救灾措施主要是合理布置救援站,配置应急车位、应急值班用房以及应急物资仓储。
为规范地下道路安全、运营管理系统设计,世界很多国家以及我国《公路隧道交通工程设计规范》JTG/T D71、云南省地方标准南省地方标准《公路隧道消防设计施工管理技术规程》DBJ 53-14-2005及上海地方标准《道路隧道设计规范》DG/T J08-2033都根据长度和交通量两个因素进行地下道路安全等级划分。考虑到国情差别,公路隧道与城市地下道路功能、交通量以及安全要求等不同,同时考虑到全国各地城市地下道路工程的差异较大,在对城市道路安全等级分级研究上还不够成熟。因此,本次规范暂未提出城市地下道路工程安全分类分级标准,以后将进一步研究。
8.3.3 城市地下道路车道孔内一般不能设置防火分隔设施,因此,可将一个车道孔视为一个防火分区。地下道路车道孔发生火灾时,这条车道孔、相邻车道孔均要参与疏散与救援,因而地下道路原则上仅有应对一次火灾的能力。但对于地下车库联络道以及多点进出型较长的城市地下道路,其沿线设置了多对出入口匝道,在这种情况下,有条件时可设置防火卷帘、防火分隔水幕等措施形成多个防火分区。每段隧道行车方向起始端及末端都应有独立的与地面道路衔接的车行入口、出口。然而对地下道路的分段防灾设计的理念仍不成熟,设计中需做专项设计研究。
在城市地下道路防火设计中,应根据地下道路等级、通行车辆构成以及车种比例,确定一个合适的车辆火灾热释放率,作为防灾设计依据。世界各国对车辆火灾热释放功率规定不一,取值见表19。
表19 各国车辆火灾热释放功率(MW)
注:资料来源上海市地方标准《道路隧道设计规范》DG/T J08-2033-2008、英国《公路及桥梁设计手册》、澳大利亚《公路隧道火灾安全指南》(2001版)、美国《公路隧道/桥梁和其他封闭式高速公路防火标准》NEPA520(2004版)。
8.3.4 地下道路发生事故后,发展迅速,一般来说事故应急响应的最佳时间为5min~15min,按一定救援速度,对应地下道路的长度为2km~4km。对于超过3km的特长地下道路,有条件时应2km~3km增设一处救援停车场,可设置在地下道路内部或进口附近。
应急救援站可以与运营管理中心合建,也可与附近其他工程共用,或单独建设,设计时应考虑应急车辆停放及应急物资存放。
8.3.5 本条参照了《建筑设计防火规范》GB 50016-2006第12.1.7条。地下道路应设置相应安全疏散设施用于应急情况下的人员逃生疏散。安全疏散是指从一个车道孔疏散至另一个车道孔或安全通道。城市地下道路安全疏散设施包括:横向人行通道(或直接安全口)、人行疏散通道(安全通道)、逃生滑梯、上下层楼梯、至地面楼梯及避难室等。安全疏散设施也可兼做救援使用,兼用时应满足救援车辆的尺寸要求,人行区与车行区宜设置分隔措施。另外有条件情况下还可能设置消防电梯等其他救援设施,图14给出了国内外常用的几种典型安全疏散设施设置方式。
图14 地下道路安全疏散设施案例(一)
图14 地下道路安全疏散设施案例(二)
地下道路的疏散救援设计不仅要考虑安全疏散还要考虑救援。8.3.5-1条提出双孔地下道路可以设置人行疏散通道作为安全疏散的一种方式,仅针对司乘人员疏散。而从救援方面考虑,双孔地下道路之间设置横通道,可以有效降低救援的距离。如人行疏散通道兼做救援通道时,要综合考虑救援时间、救援能力、疏散与救援的流线等综合因素。因此,双孔隧道仅设置人行疏散通道,而不设置横通道时,应结合当地消防救援能力设计救援方案,并应消防部门确认。
城市地下道路不宜采用避难室。勃朗峰隧道火灾案侧中,当火灾持续时间超过了避难室的安全保护时间时,进入避难室的人员仍然死亡。因此,设置避难室时,还需和其他纵向空间连接,例如安全通道、新风道等。
双层式地下道路设置上下层疏散楼梯,或单层式地下道路设置向下疏散楼梯时,疏散楼梯总宽度需满足2.5m~3.0m、内疏散净宽度不小于2.0m的要求。特别困难时,向下疏散楼梯疏散高度可根据实际情况适当减小,但不应小于1.9m。
双孔地下道路中,人行横通道是广泛采用、疏散救援效果较好的疏散设施之一,同时公众对其接受度也较高。但实际工程中,受地质条件、施工风险的影响,水底、盾构法施工的地下道路设置人行横通道、同层人行疏散通道往往有很大难度,若在地下道路的车道孔上方或下方设置人员疏散通道,此时人行横通道间距可适当加大或不设。人行横通道仍作为救援的主要途径时,间距不宜大于800m,如人员疏散通道作为救援的主要途径时,该通道应该考虑救援的相关要求。工程实施人行横通道确有难度,并设置人员疏散通道确能满足疏散、救援的要求,且有可靠的控烟、消防措施时,可通过专项论证取消横通道。
人员疏散通道设置在车道孔下方时,可通过滑梯或楼梯两种形式进入。下滑逃生口不能作为唯一的疏散方式,仅可作为疏散宽度不足的补充。采用下滑逃生口时,需进行疏散时间的核算。如下部人员疏散通道兼做救援通道时,向上救援口应与向下疏散口分开设置。不同疏散方式下的疏散效率可参考表20。设置在车道范围内的逃生口盖板,应考虑在车辆轮压作用下的安全性。当地下道路设置两种疏散设施时,每种疏散设施应各自有疏散逃生的路径,并不相互干扰。
表20 不同疏散方式下疏散效率
疏散方式 | 每秒通过人数 | 宽度(m) |
人行横通道、直接安全口 | 3.0 | 门宽不小于1.2 |
疏散楼梯 | 1.0 | 楼梯宽度不小于0.8 |
下滑逃生口(辅助) | 0.3 | 滑梯宽度不小于0.6 |
8.3.6 位于水底的地下道路设置车行横通道难度较大,且可能会引发较大的施工风险。《建筑设计防火规范》GB 50016对车行横通道的间距可以适当放大到500m~1500m。当设置横向、半横向排烟设施时,烟气控制效果将进一步提高,同时设置自动灭火系统可将火情及时控制,在这种情况下,车行横通道的间距可进一步加大。如上海市地方标准《道路隧道设计规范》DG/T J08-2033-2008中规定:“当同时满足排烟、自动灭火及疏散设施的要求时,该间距不限。”各种类型的地下道路因地质条件、或采用单孔双层式断面形式等往往没有设置车行通道的条件,长大地下道路设置横通道的造价风险也很高,因此应综合确定该间距。
地下道路与其他地下空间、地下道路相连接时,原则上允许相互之间进行车辆的疏散。但当两者同时发生火灾或在连接口部发生火灾时,则不能相互疏散。两条不同类型的地下道路相连接时,车道高度标准一致才可相互疏散。如果其中一条地下道路车辆限高低于另一条,则不能向其疏散,否则可能会影响正常运行,因此,必须做好信息共享、灾情指示、交通指引等相关应急机制与措施,避免在疏散时引起交通混乱,引发次生灾害。
连接口设置的防火分隔措施可采用防火卷帘形式。当连接的两处设施不是同一单位管养时,可考虑设置双道卷帘,卷帘之间间距不小于2m。防火卷帘应具备火灾时先部分关闭防烟,疏散完成后全部关闭的功能。
8.3.7 地下道路的长度、通行车种、通行状况不同可导致不同的火灾损失,因此,需要根据不同情况采取不同的火灾排烟模式,表21为国内外部分地下道路所采用的火灾控烟排烟方式。发生阻塞的情况相应会比较严重,需考虑发生阻塞时的排烟措施。地下车库联络道形状更加复杂,因此,应根据不同的形状采用不同的通风、排烟方式。
表21 国内外隧道、地下道路火灾控烟排烟措施
8.3.8 当城市自来水的供水量能满足地下道路的生产、生活和消防用水的要求,而供水压力不能满足消防用水压力时,应与当地消防及市政部门协商增设消防泵和稳压装置,可不设消防水池。当城市自来水的供水量和供水压力能满足生产生活用水,而不能满足消防用水量的要求时,则应设消防泵、稳压装置和消防水池。
8.3.11 本条规定了城市地下道路内部的安全防灾等应急情况下的标志设置,相比地上道路,这也一般是城市地下道路所特有的。
疏散指示标志应采用光电式,增强识别性。当前我国城市地下道路虽然都设置了完整的安全逃生标志系统设,但在标志识别效果方面还不够理想。通过调研国外城市地下道路的安全逃生标志系统设置,一般在标志的版面、色彩、光电亮度以及设置形式等不同途径提高应急标志的识别性,如在版面布置上设置大比例的图形符号以及或采用与侧墙具有强烈的视觉差异的色彩;采用悬挂式的结构支撑方式,比传统的附着式更便于远距离观察。对于行人横洞、车行横洞等逃生出口处,除布设指示标志外,还在逃生出口处设置LED灯等来增强逃生出口的可识别性,在紧急情况下能够及时清晰发现。
疏散指示标志应除指示逃生方向外,还应标识与逃生出口的距离,间距不宜过大,一般在25m~50m范围内,光线不良等条件下还应加密设置。
8.3.16 运营管理中心设置防灾广播控制台目的是实现紧急情况下人员疏散、救援广播、参与地下道路火灾自动报警系统的联动
免责申明:本站所有资源均通过网络等公开合法渠道获取,该资料仅作为阅读交流使用,并无任何商业目的,其版权归作者或出版方所有,本站不对所涉及的版权问题负任何法律责任和任何赔偿,在本站咨询或购买后默认同意此免责申明;
法律责任:如版权方、出版方认为本站侵权,请立即通知本站删除,物品所标示的价格,是对本站搜集、整理、加工该资料以及本站所运营的费用支付的适当补偿,资料索取者(顾客)需尊重版权方的知识产权,切勿用于商业用途,信息;
朝阳区酒仙桥北路7号改造项目-加固、采光顶、雨棚工程-公开招标公告
朝阳区酒仙桥北路7号改造项目-加固、采光顶、雨棚工程-公开招标公告(招标编号:XDGJ2024110101)招标项目所在地区:北京市一、招标条件本朝阳区酒仙桥北路7号改造项目...
2025-05-19
『GB T51190-2016』海底电力电缆输电工程设计规范
中华人民共和国国家标准海底电力电缆输电工程设计规范CodefordesignofsubmarinepowercableprojectGB/T51190-2016主编部门:中国电力企业联合会批准部门:中华人民共和...
2025-05-19
『JGJ T399-2016』城市雕塑工程技术规程
中华人民共和国行业标准城市雕塑工程技术规程TechnicalspecificationforpublicsculptureprojectconstructionJGJ/T399-2016批准部门:中华人民共和国住房和城乡建设...
2025-05-19
『GB T19837-2005』城市给排水紫外线消毒设备
...
2025-05-19
『GB50038-2005』人民防空地下室设计规范
中华人民共和国国家标准人民防空地下室设计规范CodefordesignofcivilairdefencebasementGB50038-2005主编部门:国家人民防空办公室批准部门:中华人民共和国建设部施...
2025-05-19
『CJJ32-2011』含藻水给水处理设计规范
...
2025-05-19